Section 7 

SERVICE

7.1Section Layout

Use a refrigerant recovery system whenever removing refrigerant. When working with refrigerants you must comply with all local government environmental laws. In the U.S.A., refer to EPA section 608.

Never use air for leak testing. It has been determined that pressurized, mixtures of refrigerant and air can undergo combustion when exposed to an ignition source.

Service procedures are provided herein beginning with refrigeration system service, then refrigeration system com­ponent service, electrical system service, temperature recorder service and general service. Refer to the Table of Contents to locate specific topics.

7.2Manifold Gauge Set

The manifold gauge set (Figure 7.1) is used to determine system operating pressure, add refrigerant charge, and to equalize or evacuate the system.

Figure 7.1  Manifold Gauge Set

Fig_manifold_gauge_set_T-359.jpg 

1.Opened (Backseated) Hand Valve

2.Suction Pressure Gauge

3.Discharge Pressure Gauge

4.Closed (Frontseated) Hand Valve

5.Connection to high side of system

6.Connection to either: a.Refrigerant cylinder OR  b.Oil Container

7.Connection to low side of system

- - - - -

When the suction pressure hand valve is frontseated (turned all the way in), the suction (low) pressure can be checked. When the discharge pressure hand valve is frontseated, the discharge (high) pressure can be checked. When both valves are open (all the way out), high pressure vapor will flow into the low side. When the suction pres­sure valve is open and the discharge pressure valve shut, the system can be charged. Oil can also be added to the system.

A R-134a manifold gauge/hose set with self-sealing hoses (Figure 7.2) is required for service of the models cov­ered within this manual. The manifold gauge/ hose set is available from Carrier Transicold. (Carrier Transicold part number 07-00294-00, which includes items 1 through 6, Figure 7.2.) To perform service using the manifold gage/hose set, do the following:

Preparing Manifold Gauge/Hose Set For Use:

If the manifold gauge/hose set is new or was exposed to the atmosphere, it will need to be evacuated to remove contaminants and air as follows:

1.Back seat (turn counterclockwise) both field service couplings (Figure 7.2) and midseat both hand valves.

2.Connect the yellow hose to a vacuum pump and refrigerant 134a cylinder.

Figure 7.2  R-134a Manifold Gauge/Hose Set

Fig_manifold_gauge-hose_set_T-359.jpg 

1.Manifold Gauge Set

2.RED Refrigeration and/or Evacuation Hose (SAE J2196/R-134a)

3.Hose Fitting (0.5-16 Acme)

4.YELLOW Refrigeration and/or Evacuation Hose (SAE J2196/R-134a)

5.Hose Fitting with O-ring (M14 x 1.5)

6.High Side Field Service Coupling (Red Knob)

7.BLUE Refrigeration and/or Evacuation Hose (SAE J2196/R-134a)

8.Low Side Field Service Coupling (Blue Knob)

- - - - -

1.Evacuate to 10 inches of vacuum and then charge with R-134a to a slightly positive pressure of 0.1 kg/ cm2 (1.0 psig).

2.Front seat both manifold gauge set valves and dis connect from cylinder. The gauge set is now ready for use.

7.3Refrigeration System Service - Units With Standard Piping

7.3.1Service Connections

The compressor suction, compressor discharge, and the liquid line service valves (see Figure 6-3) are provided with a double seat and an access valve which en ables servicing of the compressor and refrigerant lines. Turning the valve stem clockwise (all the way forward) will frontseat the valve to close off the line connection and open a path to the access valve. Turning the stem counterclockwise (all the way out) will backseat the valve to open the line connection and close off the path to the access valve.

With the valve stem midway between frontseat and backseat, both of the service valve connections are open to the access valve path.

For example, the valve stem is first fully backseated when connecting a manifold gauge to measure pressure. Then, the valve is opened 1/4 to 1/2 turn to measure the pressure.

Figure 7.3  Service Valve

Fig_service_valve_T-359.jpg 

1.Line Connection

2.Access Valve

3.Stem Cap

4.Valve stem

5.Compressor Or Filter Drier Inlet Connection

6.Valve (Frontseated)   

7.Valve (Backseated)

- - - - -

To connect the manifold gauge/hose set for reading pressures, do the following:

a.Remove service valve stem cap and check to make sure it is backseated. Remove access valve cap. (Figure 7.3).

b.Connect the field service coupling (see Figure 7.2) to the access valve.

c.Turn the field service coupling knob clockwise, which will open the system to the gauge set.

d.To read system pressures, slightly midseat the service valve.

e.Repeat the procedure to connect the other side of the gauge set.

To prevent trapping liquid refrigerant in the manifold gauge set be sure set is brought to suc­tion pressure before disconnecting.

Removing the Manifold Gauge Set:

a.While the compressor is still ON, backseat the high side service valve.

b.Midseat both hand valves on the manifold gauge set and allow the pressure in the manifold gauge set to be drawn down to low side pressure. This returns any liquid that may be in the high side hose to the system.

c.Backseat the low side service valve. Backseat both field service couplings and frontseat both manifold hand valves. Remove the couplings from the access valves.

d.Install both service valve stem caps and service port caps (finger-tight only).

7.3.2Pumping Down the Unit

To service the filter drier, economizer, expansion valves, economizer solenoid valve, digital unloader valve or evap­orator coil, pump the refrigerant into the high side as follows:

The scroll compressor achieves low suction pressure very quickly. Do not use the compressor to evacuate the system below 0 psig. Never operate the compressor with the suction or dis­charge service valves closed (frontseated). Internal damage will result from operating the com­pressor in a deep vacuum.

a.Attach manifold gauge set to the compressor suction and discharge service valves. Refer to Section 7.2.

b.Start the unit and run in the frozen mode (controller set below -10°C (14°F)) for 10 to 15 minutes.

c.Check function code Cd21 (refer to Section 4.2.2). The economizer solenoid valve should be open. If not, continue to run until the valve opens.

d.Frontseat the liquid line service valve. Place start-stop switch in the OFF position when the suction reaches a positive pressure of 0.1 bar (1.4 psig).

e.Frontseat the suction and discharge service valves. The refrigerant will be trapped between the compressor discharge service valves and the liquid line valve.

f.Before opening up any part of the system, a slight positive pressure should be indicated on the pressure gauge. Remove power from the unit before opening any part of the system. If a vacuum is indicated, emit refrigerant by cracking the liquid line valve momentarily to build up a slight positive pressure.

g.When opening up the refrigerant system, certain parts may frost. Allow the part to warm to ambient tempera­ture before dismantling. This avoids internal condensation which puts moisture in the system.

h.After repairs have been made, be sure to perform a refrigerant leak check (refer to Section 7.3.3), and evacuate and dehydrate the low side (refer to Section 7.3.4).

i.Check refrigerant charge (refer to Section 7.3.5).

7.3.3Refrigerant Leak Checking

Never use air for leak testing. It has been determined that pressurized, mixtures of refrigerant and air can undergo combustion when exposed to an ignition source.

a.The recommended procedure for finding leaks in a system is with a R-134a electronic leak detector. Testing joints with soapsuds is satisfactory only for locating large leaks.

b.If the system is without refrigerant, charge the system with refrigerant 134a to build up pressure between 2.1 to 3.5 bar (30.5 to 50.8 psig). To ensure complete pressurization of the system, refrigerant should be charged at the compressor suction valve and the liquid line service valve. Remove refrigerant cylinder and leak-check all connections.

Only refrigerant 134a should be used to pressurize the system. Any other gas or vapor will contami­nate the system, which will require additional purging and evacuation of the system.

c.If required, remove refrigerant using a refrigerant recovery system and repair any leaks. Check for leaks.

d.Evacuate and dehydrate the unit. (Refer to Section 7.3.4.)

e.Charge unit per Section 7.3.5.

7.3.4Evacuation and Dehydration

General

Moisture is detrimental to refrigeration systems. The presence of moisture in a refrigeration system can have many undesirable effects. The most common are cop per plating, acid sludge formation, “freezing-up” of metering devices by free water, and formation of acids, resulting in metal corrosion.

Preparation

a.Evacuate and dehydrate only after pressure leak test.

b.Essential tools to properly evacuate and dehydrate any system include a vacuum pump (8 m3/hr = 5 cfm volume displacement) and an electronic vacuum gauge. (The pump is available from Carrier Transicold, part number 07-00176-11.)

c.If possible, keep the ambient temperature above 15.6°C (60°F) to speed evaporation of moisture. If the ambient temperature is lower than 15.6°C (60°F), ice might form before moisture removal is complete. Heat lamps or alternate sources of heat may be used to raise the system temperature.

d.Additional time may be saved during a complete system pump down by replacing the filter drier with a sec­tion of copper tubing and the appropriate fittings. Installation of a new drier may be performed during the charging procedure.

Figure 7.4  Refrigeration System Service Connections

Fig_refrigeration_system_service_connections_T-359.jpg 

1.Liquid Service Connection

2.Receiver

3.Compressor

4.Discharge Service Connection

5.Suction Service Connection

6.Vacuum Pump

7.Electronic Vacuum Gauge

8.Manifold Gauge Set

9.Refrigerant Cylinder

10.Reclaimer

- - - - -

Procedure - Complete System

Refer to Partial System procedure for information pertaining to partial system evacuation and dehydration.

a.Remove all refrigerant using a refrigerant recovery system.

b.The recommended method to evacuate and dehydrate the system is to connect evacuation hoses at the compressor suction and liquid line service valve (see Figure 7.4). Be sure the service hoses are suited for evacuation purposes.

c.Test the evacuation setup for leaks by backseating the unit service valves and drawing a deep vacuum with the vacuum pump and gauge valves open. Shut off the pump and check to see if the vacuum holds. Repair leaks if necessary.

d.Midseat the refrigerant system service valves.

e.Open the vacuum pump and electronic vacuum gauge valves, if they are not already open. Start the vacuum pump. Evacuate unit until the electronic vacuum gauge indicates 2000 microns. Close the electronic vac­uum gauge and vacuum pump valves. Shut off the vacuum pump. Wait a few minutes to be sure the vac­uum holds.

f.Break the vacuum with clean dry refrigerant 134a gas. Raise system pressure to roughly 0.14 bar (2 psig), monitoring it with the compound gauge.

g.Remove refrigerant using a refrigerant recovery system.

h.Repeat steps e. and f. one time.

i.Remove the copper tubing and change the filter drier. Evacuate unit to 500 microns. Close the electronic vacuum gauge and vacuum pump valves. Shut off the vacuum pump. Wait five minutes to see if vacuum holds. This procedure checks for residual moisture and/or leaks.

j.With a vacuum still in the unit, the refrigerant charge may be drawn into the system from a refrigerant con­tainer on weight scales.

Procedure - Partial System

a.If refrigerant charge has been removed from the low side only, evacuate the low side by connecting the evacuation set-up at the compressor suction valve and the liquid service valve but leave the service valves frontseated until evacuation is completed.

b.Once evacuation has been completed and the pump has been isolated, fully backseat the service valves to isolate the service connections and then continue with checking and, if required, adding refrigerant in accor­dance with normal procedures.

7.3.5Refrigerant Charge

Checking the Refrigerant Charge

Use a refrigerant recovery system whenever removing refrigerant. When working with refrigerants you must comply with all local government environmental laws. In the U.S.A., refer to EPA Section 608.

a.Connect the gauge manifold to the compressor discharge and suction service valves.

b.Bring the container temperature to approximately 0°C (32°F) or below. Then set the controller set point to -25°C (-13°F).

c.Partially block the condenser coil inlet air. Increase the area blocked until the compressor discharge pres­sure is raised to approximately 12.8 bar (185 psig).

d.On units equipped with a receiver, the level should be between the glasses. If the refrigerant level is not cor­rect, continue with the following paragraphs to add or remove refrigerant as required.

Adding Refrigerant to System (Full Charge)

a.Evacuate unit and leave in deep vacuum. (Refer to Section 7.3.4.)

b.Place cylinder of R-134a on scale and connect charging line from cylinder to liquid line valve. Purge charging line at liquid line valve and then note weight of cylinder and refrigerant.

c.Open liquid valve on cylinder. Open liquid line valve half-way and allow the liquid refrigerant to flow into the unit until the correct weight of refrigerant (refer to Section 3.2) has been added as indicated by scales.

It may be necessary to finish charging unit through suction service valve in gas form, due to pressure rise in high side of the system.

d.Backseat manual liquid line valve (to close off gauge port). Close liquid valve on cylinder.

e.Start unit in cooling mode. Run for approximately 10 minutes and check the refrigerant charge.

Adding Refrigerant to System (Partial Charge)

a.Examine the unit refrigerant system for any evidence of leaks. Repair as necessary. (Refer to Section 7.3.3).

b.Maintain the conditions outlined in paragraph Section 7.3.5.

c.Fully backseat the suction service valve and remove the service port cap.

d.Connect charging line between suction service valve port and cylinder of refrigerant R-134a. Open VAPOR valve.

e.Partially frontseat (turn clockwise) the suction service valve and slowly add charge until the refrigerant appears at the proper level. Be careful not to frontseat the suction valve fully, if the compressor is operated in a vacuum, internal damage may result.

7.4Compressor

Make sure power to the unit is OFF and power plug disconnected before replacing the com­pressor.

Before disassembly of the compressor, be sure to relieve the internal pressure very carefully by slightly loosening the couplings to break the seal.

The scroll compressor achieves low suction pressure very quickly. Do not use the compressor to evacuate the system below 0 psig. Never operate the compressor with the suction or dis­charge service valves closed (frontseated). Internal damage will result from operating the com­pressor in a deep vacuum.

The PrimeLINE unit has a hermetically sealed compressor that should not be opened and/or repaired. Doing so can cause a loss in performance and premature system failure due to the precision machinery and assembly required within the compressor. To repair the unit, remove the faulty compressor and replace with an approved Carrier compressor. If the return of the compressor is not required, follow local waste collection & recycling regulations in discarding the compressor.

7.4.1Removal and Replacement of Compressor

a.Turn the unit ON and run it in full cool mode for 10 minutes.

If the compressor is not operational, front-seat the suction and discharge service valves and go to step g. below.

b.Frontseat the manual liquid line valve and allow the unit to pull-down to 0.1 kg/cm2 (1 psig).

c.Turn the unit start-stop switch (ST) and unit circuit breaker (CB-1) OFF, and disconnect power to the unit.

d.Remove the compressor cover.

e.Frontseat the discharge and suction service valves.

f.Remove all remaining refrigerant from the compressor using a refrigerant recovery system.

g.Remove the compressor terminal cover, disconnect the ground wire and pull the cable plug from the compressor terminals. Install the terminal cover back after removing the power cable.

Inspect the power cable (plug) terminals to en sure they are not deformed or have any signs of heat or arcing. If any damage is noted, replace the power cable.

h.Remove the Rotalock fittings from the suction and discharge service connections, and uncouple the unloader and economizer lines from the compressor.

i.Cut the dome temperature sensor wires. The replacement compressor comes with a dome temperature sensor already assembled.

j.Remove and save the compressor base mounting bolts. Discard the 4 top resilient mounts and washers.

k.Remove (slide out) the old compressor from the unit.

l.Inspect compressor base plate for wear. Replace, if necessary.

m.Wire tie the compressor base plate to the compressor, and slide the new compressor into the unit. Refer to Figure 7.5.

DO NOT add any oil to the replacement compressor. Replacement compressor is shipped with full oil charge of 60 oz.

n.Cut and discard the wire ties used to hold the base plate to the compressor.

o.Place the new SST washers on each side of the resilient mounts, and the new Mylar washer on the bottom of it as shown in Figure 7.5. Install the four base mounting bolts loosely.

p.Place the new Teflon seals at the compressor suction and discharge ports as well as the O-rings at the unloader and economizer line connection ports. Hand tighten all four connections.

q.Torque the four base-mounting screws to 6.2 mkg (45 ft-lbs).

Figure 7.5  Compressor Kit

Fig_compressor_kit_T-359.jpg 

1.Compressor

2.Teflon Seal for Valve Connection (2)

3.O-ring (Unloader Connection)

4.Compressor Dis-charge Temperature Sensor

5.O-ring (Economizer Connection)

6.Base Mounting Bolts

7.SST Washers

8.Resilient Mount

9.Mylar Washers

10.Wire Ties

11.Power Cable Gasket

12.Ground Connection Screw

13.Power Cable Lubricant - Krytox (Not Shown)

- - - - -

r.Torque the compressor ports / connections to:

Service Valve / Connection

Torque Value

Suction and Discharge

Rotalocks

108.5 to 135.5 Nm

(80 to 100 ft-lbs.)

Unloader connection

24.5 to 27 Nm

(18 to 20 ft-lbs.)

Economized connection

32.5 to 35 Nm

(24 to 26 ft-lbs.)

s.Connect (butt-splice and heat shrink) the new compressor dome temperature sensor with the old sensor wires removed in step i. Wire-tie any loose wiring as appropriate.

t.Evacuate the compressor to 1000 microns if the unit was pumped down before the replaced compressor was removed. Otherwise, evacuate the complete unit and charge it with R-134a refrigerant (see Section 7.3.4 and Section 7.3.5).

u.Open the compressor terminal cover and connect the compressor power cable following the steps below:

v.Liberally coat the orange gasket surfaces with the Krytox lubricant.

w.Install the orange gasket part onto the compressor fusite with the grooved or threaded side out. Ensure that the gasket is seated onto the fusite base.

x.Coat the inside of the power plug (female) connector pins with the Krytox lubricant, and insert the plug onto the compressor terminal connections. Make sure, the orange gasket has bottomed out onto the fusite and it fits securely onto the terminal pins while fully inserted into the orange plug.

y.Connect the green ground wire to the grounding tab located inside the terminal box of the compressor using the self-tapping grounding screw. Close the compressor terminal box using the terminal cover removed in step 20 above.

z.Backseat all service valves.

aa.Replace the compressor cover.

ab.Connect the power to the unit and run it for at least 20 minutes.

ac.Perform a leak check of the system.

7.5High Pressure Switch

7.5.1Checking High Pressure Switch

Do not use a nitrogen cylinder without a pressure regulator. Do not use oxygen in or near a refrigeration system as an explosion may occur.

The high pressure switch is non-adjustable.

a.Remove switch as outlined in Section 7.5.2.

b.Connect ohmmeter or continuity light across switch terminals. Ohmmeter will indicate no resistance or con­tinuity light will be illuminated if the switch closed after relieving compressor pressure.

c.Connect hose to a cylinder of dry nitrogen. (Figure 7.6)

Figure 7.6  High Pressure Switch Testing

Fig_high_pressure_switch_testing_T-359.jpg 

d.Set nitrogen pressure regulator at 26.4 kg/cm2 (375 psig) with bleed-off valve closed.

e.Close valve on cylinder and open bleed-off valve.

f.Open cylinder valve. Slowly close bleed-off valve to increase pressure on switch. The switch should open at a static pressure up to 25 kg/cm2 (350 psig). If a light is used, light will go out. If an ohmmeter is used, the meter will indicate open circuit.

g.Slowly open bleed-off valve to decrease the pressure. The switch should close at 18 kg/cm2 (250 psig).

7.5.2Replacing High Pressure Switch

a.Remove the refrigerant charge.

b.Disconnect wiring from defective switch. The high pressure switch is located on the discharge connection or line and is removed by turning counterclockwise.

c.Install a new high pressure switch after verifying switch settings.

d.Evacuate, dehydrate and recharge system.

e.Start unit, verify refrigeration charge and oil level.

7.6Condenser Coil

The condenser consists of a series of parallel copper tubes expanded into copper fins. The condenser coil must be cleaned with fresh water or steam so the air flow is not restricted. To replace the coil, do the following:

Do not open the condenser fan grille before turning power OFF and disconnecting power plug.

a.Using a refrigerant reclaim system, remove the refrigerant charge.

b.Remove the condenser coil guard.

c.Unsolder discharge line and remove the line to the receiver.

d.Remove coil mounting hardware and remove the coil.

e.Install replacement coil and solder connections.

f.Leak-check the coil connections per Section 7.3.3. Evacuate the unit then charge the unit with refrigerant.

7.7Condenser Fan and Motor Assembly 

Do not open condenser fan grille before turning power OFF and disconnecting power plug.

The condenser fan rotates counter-clockwise (viewed from front of unit), pulls air through the condenser coil, and discharges horizontally through the front of the unit. To replace motor assembly:

a.Open condenser fan screen guard.

b.Loosen two square head set screws on fan. (Thread sealer has been applied to set screws at installation.)

c.Disconnect wiring connector.

Take necessary steps (place plywood over coil or use sling on motor) to prevent motor from falling into condenser coil.

d.Remove motor mounting hardware and replace the motor. It is recommended that new locknuts be used when replacing motor.

e.Connect the wiring connector.

f.Install fan loosely on motor shaft (hub side in). DO NOT USE FORCE. If necessary, tap the hub only, not the hub nuts or bolts. Install venturi. Apply “Loctite H” to fan set screws. Adjust fan within venturi so that the outer edge of the fan is within 2.0 +/- 0.07 mm (0.08" +/- 0.03") from the outside of the orifice opening. Spin fan by hand to check clearance.

g.Close and secure condenser fan screen guard.

7.8Filter Drier

If the liquid line sight glass appears to be flashing or bubbles are constantly moving through the sight glass, the unit may have a low refrigerant charge or the filter drier could be partially plugged.

a.To check filter drier:

1.Test for a restricted or plugged filter drier by feeling the liquid line inlet and outlet connections of the drier cartridge. If the outlet side feels cooler than the inlet side, then the filter drier should be changed.

2.Check the moisture-liquid indicator if the indicator shows a high level of moisture, the filter drier should be replaced.

b.To replace filter drier:

1.Pump down the unit (refer to Section 7.3.2). Evacuate if unit is not equipped with service valves. Then replace filter drier.

2.Evacuate the low side in accordance with Section 7.3.4.

3.After unit is in operation, inspect for moisture in system and check charge.

7.9Evaporator Coil and Heater Assembly

The evaporator section, including the coil, should be cleaned regularly. The preferred cleaning fluid is fresh water or steam. Refer to Section 7.11 for additional Evaporator Coil cleaning instructions.

The drain pan hose is routed behind the condenser fan motor and compressor. The drain pan line must be open to ensure adequate drainage.

7.9.1Evaporator Coil Replacement

a.Pump unit down. (Refer to Section 7.3.2) Evacuate if unit is not equipped with service valves. Refer to Section 7.3.4.

b.With power OFF and power plug removed, remove the screws securing the panel covering the evaporator section (upper panel).

c.Disconnect the defrost heater wiring.

d.Remove the mounting hardware from the coil.

e.Unsolder the two coil connections, one at the distributor and the other at the coil header.

f.Disconnect the defrost temperature sensor (see Figure 3.2) from the coil.

g.Remove middle coil support.

h.After defective coil is removed from unit, remove defrost heaters and install on replacement coil.

i.Install coil assembly by reversing above steps.

j.Leak check connections. Evacuate and add refrigerant charge.

7.9.2Evaporator 5+1 Heater Removal and Replacement

The heaters are wired to the contactor and to the terminal block. If a heater failure occurs during a trip, the heater set containing that heater may be disconnected at the contactor or at the terminal block. Refer to the schematic diagram to individually isolate and troubleshoot the heaters.

The next pre-trip will detect that a heater set has been disconnected and indicate that the failed heater should be replaced. To remove a heater, do the following:

a.Before servicing unit, make sure the unit circuit breakers (CB-1 and CB-2) and the start-stop switch (ST) are in the OFF position, and that the power plug is disconnected.

b.Remove the upper back panel.

c.Determine which heater(s) need replacing by checking resistance of each heater set. Refer to Section 3.3 for heater resistance values. Once the set containing the failed heater is determined, cut the splice connec­tion and retest to determine the actual failed heater(s).

To remove U-shaped heater:

1.Remove hold-down clamp securing heater(s) to coil.

2.Lift the bent end of the heater (with the opposite end down and away from coil). Move heater to the side enough to clear the heater end support and remove.

3.To replace a heater, do steps 1 through 2 in reverse.

To remove straight heater:

1.Locate holding clips positioned at the ends of the heater element.

2.Rotate clips toward the center of the container unit.

3.Lift heater slightly up and out to remove.

4.To replace a heater, do steps 1 through 3 in reverse.

To remove Omega heater (see Figure 7.7):

1.Remove the two tube clamps located near the top of the heater element.

2.Locate holding clips positioned at the bottom of the heater element and rotate slightly toward the center of the container unit.

3.Carefully pull heater out to remove.

4.To replace a heater, do steps 1 through 3 in reverse.

Figure 7.7  Heater Arrangement - Omega Heater

Fig_omega_heater_T-359.jpg 

7.10Evaporator Fan and Motor Assembly

The evaporator fans circulate air throughout the container by pulling air in the top of the unit. The air is forced through the evaporator coil where it is either heated or cooled and then discharged out the bottom of the refrigera­tion unit into the container. The fan motor bearings are factory lubricated and do not require additional grease.

7.10.1Replacing the Evaporator Fan Assembly

Always turn OFF the unit circuit breakers (CB-1 and CB-2) and disconnect main power supply before working on moving parts.

a.Remove upper access panel (see Figure 3.2) by removing mounting bolts and TIR locking device. Reach inside of unit and remove the Ty-Rap securing the wire harness loop. Disconnect the connector by twisting to unlock and pulling to separate.

b.Loosen four 1/4-20 clamp bolts that are located on the underside of the fan deck at the sides of the fan assembly. Slide the loosened clamps back from the fan assembly.

c.Slide the fan assembly out from the unit and place on a sturdy work surface.

7.10.2Disassemble the Evaporator Fan Assembly

a.Attach a spanner wrench to the two 1/4-20 holes located in the fan hub. Loosen the 5/8-18 shaft nut by holding the spanner wrench stationary and turning the 5/8-18 nut counter-clockwise (see Figure 7.8).

b.Remove the spanner wrench. Use a universal wheel puller and remove the fan from the shaft. Remove the washers and key.

c.Remove the four 1/4-20 x 3/4 long bolts that are located under the fan that support the motor and stator housing. Remove the motor and plastic spacer.

7.10.3Assemble the Evaporator Fan Assembly

a.Assemble the motor and plastic spacer onto the stator.

When removing the black nylon evaporator fan blade, care must be taken to assure that the blade is not damaged. In the past, it was a common practice to insert a screwdriver between the fan blades to keep it from turning. This practice can no longer be used, as the blade is made up of a material that will be damaged. It is recommended that an impact wrench be used when removing the blade. Do not use the impact wrench when reinstalling, as galling of the stainless steel shaft can occur.

b.Apply Loctite to the 1/4-20 x 3/4 long bolts and torque to 0.81 mkg (70 inch-pounds).

c.Place one 5/8 flat washer on the shoulder of the fan motor shaft. Insert the key in the keyway and lubricate the fan motor shaft and threads with a graphite-oil solution (such as Never-seez).

d.Install the fan onto the motor shaft. Place one 5/8 flat washer with a 5/8-18 locknut onto the motor shaft and torque to 40 foot-pounds.

Figure 7.8  Evaporator Fan Assembly

Fig_evap_fan_assembly_T-359.jpg 

1.Stator

2.Flat washer, 5/8

3.Locknut, 5/8-18

4.Impeller Fan

5.Screw, 1/4

6.Flat washer, 1/4

7.Mylar Protector

8.Evaporator Motor

- - - - -

e.Install the evaporator fan assembly in reverse order of removal. Torque the four 1/4-20 clamp bolts to     0.81 mkg (70 inch-pounds). Connect the wiring connector.

f.Replace access panel making sure that panel does not leak. Make sure that the TIR locking device is lockwired.

7.11Evaporator Section Cleaning

Containers and Container units that are exposed to certain fumigants may develop visible surface corrosion. This corrosion will show up as a white powder found on the inside of the container and on the reefer unit evaporator sta­tor and fan deck.

Analyses by Carrier Transicold environmental specialists have identified the white powder as consisting predomi­nantly of aluminum oxide. Aluminum oxide is a coarse crystalline deposit most likely the result of surface corrosion on the aluminum parts within the container. If left untreated over time, it may build up in thickness and eventually flake as a light-weight white powder.

The surface corrosion of aluminum is brought about by exposure to chemicals such as sulfur dioxide and possibly other fumigants that are commonly used for fumigation and protection of some perishable cargo such as grapes, for example. Fumigation is the process by which a chemical is released into an enclosed area to eliminate infesta­tions of insects, termites, rodents, weeds and soil-born disease.

Typically any aluminum oxide that becomes detached from evaporator fan stators will be blown into the wet evapo­rator coil where it will be caught and then flushed out of the unit during routine defrost cycles.

However, it is still highly recommended that after carrying cargo subject to fumigation procedures, that the inside of the unit be thoroughly cleansed prior to reuse.

Carrier Transicold has identified a fully biodegradable and environmentally safe alkaline cleaning agent (Tri-Pow'r® HD) for the unit. This will assist in helping to remove the corrosive fumigation chemicals and dislodging of the cor­rosive elements.

This cleaner is available from the Carrier Transicold Performance Parts Group (PPG) and can be ordered through any of the PPG locations; Part Number NU4371-88.

As a general safety precaution, before using this product, refer to and retain the Material Safety Data (MSDS) sheet. This document can be found at: http://www.nucalgon.com/products/coil-cleaners/condensers/tri-powr-hd

Prior to Cleaning:

Always wear goggles, gloves and work boots.

Avoid contact with skin and clothing, and avoid breathing mists.

When mixing, add water to the sprayer first, then the cleaner.

ALWAYS provide for proper ventilation when cleaning indoor evaporator coils (rear doors must be open).

Be aware of surroundings - food, plants, etc., and the potential for human exposure.

Always read directions and follow recommended dilution ratios. More is not always better. Using non-diluted cleaner is not recommended.

Cleaning Procedure:

a.Remove the upper evaporator access panel inside of the unit.

b.Spray the surface with water before applying the cleaning solution. This helps the cleaner work better.

c.Liberally apply the prepared cleaner solution (5 parts water and 1 part cleaner).

d.Allow the cleaner to soak in for 5 to 7 minutes.

e.Assess area for rinsing. Follow all local regulations regarding disposal of waste water.

f.Thoroughly rinse the cleaner and surrounding area, floor, etc. When rinsing where heavy foaming solution is present, it is very important to take the time to thoroughly rinse the equipment and surroundings.

g.Always rinse the empty coil cleaner bottle, cap tightly and dispose of properly.

7.12Electronic Expansion Valve

The electronic expansion valve (EEV) is an automatic device which maintains required superheat of the refrigerant gas leaving the evaporator. The valve functions are: (a) automatic response of refrigerant flow to match the evapo­rator load and (b) prevention of liquid refrigerant entering the compressor. Unless the valve is defective, it seldom requires any maintenance. See Figure 7.9.

Figure 7.9  Electronic Expansion Valve

Fig_electronic_expansion_valve_T-359.jpg 

7.12.1Replacing Electronic Expansion Valve and Strainer

a.Removing an EEV:

1.Pump down compressor (refer to Section 7.3.2) and frontseat both suction and discharge valves.

2.Turn unit power off and remove power from the unit.

3.Remove coil.

4.VALVE REMOVAL: The preferred method of removing the valve is to cut the connection between the brazed section and the valve, using a small tube cutter. Remove valve and the strainer.

5.Alternately, use a wet rag to keep valve cool. Heat inlet and outlet connections to valve body and remove valve.

6.Clean the valve stem with mild cleaner, if necessary.

b.Installing an EEV, reverse steps 1 through 4 above to install a new valve:

1.Install the valve and a new strainer with the cone of strainer / screen pointing into liquid line at the inlet to the valve.

2.During installation, make sure the EEV coil is snapped down fully, and the coil retention tab is properly seated in one of the valve body dimples. Also, ensure that coil boot is properly fitted over valve body. See Figure 7.9.

3.Replace filter drier.

4.Evacuate to 500 microns by placing vacuum pump on liquid line and suction service valve.

5.Open liquid line service valve and check refrigerant level.

6.Check superheat. (Refer to Section 3.2).

7.Check unit operation by running Pre-trip (Refer to Section 4.6).

7.13Economizer Expansion Valve

The economizer expansion valve can be found in Figure 3.4 (Item12). The economizer expansion valve is an auto­matic device that maintains constant superheat of the refrigerant gas leaving at the point of bulb attachment, regardless of suction pressure.

Unless the valve is defective, it seldom requires maintenance other than periodic inspection to ensure that the ther­mal bulb is tightly secured to the suction line and wrapped with insulating compound.

7.13.1Valve Replacement

a.Removing an Expansion Valve:

The EEV is a hermetic valve and does not have adjustable superheat (See Figure 7.10).

Figure 7.10  Economizer Expansion Valve

Fig_economizer_expansion_valve_T-359.jpg 

1.Pump down the compressor (refer to Section 7.3.2) and frontseat both suction and discharge valves. Evacuate if unit is not equipped with service valves. Refer to Section 7.3.4.

2.Turn unit power off and remove power from the unit.

3.Remove cushion clamps located on the inlet and outlet lines.

4.Remove insulation (Presstite) from expansion valve bulb.

5.Unstrap the bulb, located on the economizer line.

6.VALVE REMOVAL: The preferred method of removing the valve is to cut the connection between the brazed section and the valve, using a small tube cutter. Remove valve.

Alternately, use a wet rag to keep valve cool. Heat inlet and outlet connections to valve body and remove valve.

7.Clean the valve stem with mild cleaner, if necessary.

b.Installing an Expansion Valve:

1.The economizer valve should be wrapped in a soaked cloth for brazing. Braze inlet connection to inlet line.

2.Braze inlet connection to inlet line.

3.Braze outlet connection to outlet line.

4.Reinstall cushion clamps on inlet and outlet lines.

c.Replace filter drier.

d.Evacuate to 500 microns by placing vacuum pump on liquid line and suction service valve.

e.Check superheat (see Section 3.2).

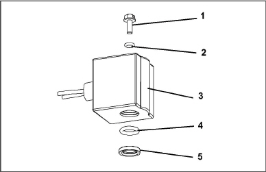
7.14Economizer Solenoid Valve

a.Removing a Solenoid Valve Coil:

1.Turn unit power off and remove power from the unit. Disconnect leads.

2.Remove top screw and O-ring. Remove coil and save mounting hardware, seals and spacer for reuse. (See Figure 7.11). Refer to step d. for valve coil replacement.

Figure 7.11  Coil View of Economizer Solenoid Valve (ESV)

Fig_economizer_solenoid_valve_T-359.jpg 

1.Slotted Screw

2.Top Coil (small) O-ring

3.Solenoid Coil, Enclosing Tube and Body

4.Bottom Coil (large) O-ring

5.Brass Spacer

- - - - -

b.Removing the Solenoid Valve:

1.Pump down the compressor (refer to Figure 7.3.2) and frontseat both suction and discharge valves.

2.VALVE REMOVAL: The preferred method of re moving the solenoid valve is to cut the connection between the brazed section and the valve, using a small tube cutter. Remove valve.

Alternately, heat inlet and outlet connections to valve body and remove valve.

3.Clean the valve stem with mild cleaner, if necessary.

c.Installing the Solenoid Valve:

1.Fit the new solenoid valve into position and braze. Use a wet rag to keep valve cool whenever brazing.

d.Installing the Solenoid Valve Coil:

1.Install the brass spacer on the valve stem.

2.Lubricate both O-rings with silicone provided in the kit.

3.Install bottom coil O-ring on the valve stem.

4.Install the solenoid coil on the valve stem.

5.Place the top coil O-ring on the coil mounting screw and secure the coil to the valve using a torque-wrench. Torque the screw to 25 lb-in.

6.Connect coil wires using butt-splices and heat-shrink tubing.

7.15Digital Unloader Valve

a.Removing the DUV:

1.Pump down the compressor (refer to Section 7.3.2) and frontseat both suction and discharge valves. In the event the DUV is stuck open and compressor cannot pump down, remove charge.

2.Turn unit power off and remove power from the unit.

3.Loosen bolt on top of the DUV and remove coil assembly.

There is a loose steel spacer tube between the top of the valve and the 12 VDC coil that needs to be reinstalled into the solenoid valve coil. When removing the coil, it may fall out when lifted from the valve body. Take care that the spacer is not lost; the valve will not function correctly without it.

4.Remove clamps holding the DUV to the discharge line.

5.Loosen the nuts attaching the DUV to the top of the compressor.

6.VALVE REMOVAL: The preferred method of removing the solenoid valve is to cut the connection between the brazed section and the valve, using a small tube cutter. Remove valve. (See Figure 7.12).

Alternately, use a wet rag to keep valve cool. Heat outlet connection to valve body and remove valve.

Figure 7.12  Digital Unloader Valve (DUV) Assembly

Fig_duv_assembly_T-359.jpg 

1.Sleeve

2.O-ring (hidden)

3.Screen Valve Strainer

4.Tube

5.Solenoid Valve Body

6.Hex Nut, 1/2 OD

- - - - -

7.Examine compressor and service valves. Ensure that the O-ring is not stuck in the gland of the valve.

8.Discard the O-ring on the O-ring face seal connection.

b.Installing the Valve:

1.Lubricate the gland shoulder area and O-ring with refrigerant oil.

2.Fit new valve in position and hand-tighten the O-ring nut.

3.Use a wet rag to keep valve cool while brazing. Braze DUV to service valve connection.

4.Reinstall and tighten the brackets that secure the valve body to the discharge line.

5.Torque O-ring face seal connections to 18 to 20 ft-lbs.

6.Install the coil onto the valve body and tighten the attachment bolt.

Confirm that the small spacer tube is inserted into the coil prior to attaching it to the valve body. The valve will not function correctly without it.

7.Leak check and evacuate low side of unit as applicable. Refer to Section 7.3.4.

8.Open service valves.

7.16Valve Override Controls

Controller function code Cd41 is a configurable code that allows timed operation of the automatic valves for trou­bleshooting. Test sequences are provided in Table 7–1. Capacity mode (CAP) allows alignment of the economizer solenoid valve in the standard and economized operating configurations. DUV Capacity Modulation,% Setting (PCnt) and Electronic Expansion Valve (EEV) allows opening of the digital unloader valve and electronic expansion valve, respectively, to various percentages. If the unit is equipped with an LIV, the Liquid Valve Setting allows the LIV to be automatically controlled, or manually opened and closed.

The Override Timer (tIM) selection is also provided to enter a time period of up to five minutes, during which the override(s) are active. If the timer is active, valve override selections will take place immediately. If the timer is not active, changes will not take place for a few seconds after the timer is started. When the timer times out, override function is automatically terminated and the valves return to normal machinery control. To operate the override, do the following:

a.Press the CODE SELECT key then press an ARROW key until Cd41 is displayed in the left window. The right window will display a controller communications code.

b.Press the ENTER key. The left display will show a test name alternating with the test setting or time remain­ing. Use an ARROW key to scroll to the desired test. Press the ENTER key and SELCt will appear in the left display.

c.Use an ARROW key to scroll to the desired setting, and then press the ENTER key. Selections available for each of the tests are provided in Table 7–1.

d.If the timer is not operating, follow the above procedure to display the timer. Use an ARROW key to scroll to the desired time interval and press ENTER to start the timer.

e.The above described sequence may be repeated during the timer cycle to change to another override.

Table 7–1  Valve Override Control Displays

Left Display

Controller Communications Codes

(Right Display)

Setting Codes

(Right Display)

Cd 41/SELCt

tIM

(Override Timer)

0 00 (0 minutes/0 Seconds)

In 30 second increments to

5 00 (5 minutes/ 0 seconds)

PCnt

(% Setting - DUV Capacity Modulation)

AUtO

(Normal Machinery Control)

0

3

6

10

25

50

100

EEV

(% Setting - Electronic Expansion Valve)

AUtO

(Normal Machinery Control)

CLOSE (Closed)

0

3

6

10

25

50

100

CAP

(Capacity Mode)

AUtO (Normal Control)

Std UnLd (Economizer = Closed)

ECOn (Economizer = Open)

7.17Controller

7.17.1Handling Modules

Do not remove wire harnesses from circuit boards unless you are grounded to the unit frame with a static safe wrist strap or equivalent static drain device.

Remove the controller module and unplug all connectors before performing any arc welding on any part of the container.

The guidelines and cautions provided herein should be followed when handling the modules. These precautions and procedures should be implemented when replacing a module, when doing any arc welding on the unit, or when service to the refrigeration unit requires handling and removal of a module.

a.Obtain a grounding wrist strap (Carrier Transicold part number 07-00304-00) and a static dissipation mat (Carrier Transicold part number 07-00277-00). The wrist strap, when properly grounded, will dissipate any potential buildup on the body. The dissipation mat will provide a static-free work surface on which to place and/or service the modules.

b.Disconnect and secure power to the unit.

c.Place strap on wrist and attach the ground end to any exposed unpainted metal area on the refrigeration unit frame (bolts, screws, etc.).

d.Carefully remove the module. Do not touch any of the electrical connections if possible. Place the module on the static mat.

e.The strap should be worn during any service work on a module, even when it is placed on the mat.

7.17.2Controller Troubleshooting

A group of test points (TP, see Figure 7.13) are provided on the controller for troubleshooting electrical circuits (see schematic diagram, Figure 8.2). A description of the test points follows:

Use a digital voltmeter to measure AC voltage between TP's and ground (TP9), except for TP8.

TP1

This test point is not used in this application.

TP2

This test point enables the user to check if the high pres sure switch (HPS) is open or closed.

TP3

This test point enables the user to check if the water pressure switch (WP) contact is open or closed.

TP 4

This test point enables the user to check if the internal protector for the condenser fan motor (IP-CM) is open or closed.

TP 5

This test point enables the user to check if the internal protectors for the evaporator fan motors (IP-EM1 or

IP-EM2) are open or closed.

TP 6 (IF EQUIPPED)

This test point enables the user to check if the controller liquid injection valve relay (TQ) is open or closed.

TP 7

This test point enables the user to check if the controller economizer solenoid valve relay (TS) is open or closed.

TP 8

This test point is not used in this application.

TP 9

This test point is the chassis (unit frame) ground connection.

TP 10

This test point enables the user to check if the heat ter­mination thermostat (HTT) contact is open or closed.

Figure 7.13  Controller Section of the Control Box

fig_controller_section.jpg 

7.17.3Controller Programming Procedure

To load new software into the module, the programming card is inserted into the programming/software port.

The unit must be OFF whenever a program ming card is inserted or removed from the control­ler programming port.

1.Turn unit OFF, via start-stop switch (ST).

2.Insert software/programming PCMCIA card containing the following (example) files into the programming/software port. (See Figure 7.13):

menuDDMM.ml3, this file allows the user to select a file/program to upload into the controller.

cfYYMMDD.ml3, multi-configuration file.

3.Turn unit ON, via start-stop switch (ST).

7.17.3.1Programming Procedure for Software Versions 5328 and Greater AND With Updated Menu Option (menu0111.ml)

The updated menu option allows the operational soft ware to be loaded, and time and container identification to be set.

a.Procedure for loading operational software:

1.The display module will display the message Set UP.

2.Press the UP or DOWN arrow key until display reads, LOAd 53XX for Scroll.

3.Press the ENTER key on the keypad.

4.The display will alternate to between PrESS EntR and rEV XXXX.

5.Press the ENTER key on the keypad.

6.The display will show the message “Pro SoFt”. This message will last for up to one minute.

7.The display module will go blank briefly, then read “Pro donE” when the software loading has loaded. (If a problem occurs while loading the software: the display will blink the message “Pro FAIL” or “bad 12V.” Turn start-stop switch OFF and remove the card.)

8.Turn unit OFF, via start-stop switch (ST).

9.Remove the PCMCIA card from the programming/ software port and return the unit to normal operation by placing the start-stop switch in the ON position.

10.Turn power on, and wait 15 seconds. The status LED will flash quickly, and there will be no display. The controller is loading the new software into memory. This takes about 15 seconds.

When complete, the controller will reset and power up normally.

11.Wait for default display, setpoint on the left, and control temperature on the right.

12.Confirm software is correct using keypad code select 18 to view Cd18 XXXX.

13.Turn power off. Operational software is loaded.

b.Procedure for loading configuration software:

1.Turn unit OFF using start-stop switch (ST).

2.Insert software/programming PCMCIA card containing the following (example) files into the program­ming/software port. (See Figure 7.13):

menuDDMM.ml3, this file allows the user to select the file/program to upload into the controller.

cfYYMMDD.ml3, multi-configuration file.

3.Turn unit ON using start-stop switch (ST).

4.Press the UP or DOWN arrow key until display reads Set UP.

5.Press the ENTER key on the keypad.

6.Press the UP or DOWN arrow key until display reads XXXX the message ruN COnFG. (If a defective card is being used the display will blink the message “bAd CArd.” Turn start-stop switch OFF and remove the card.)

7.Press the ENTER key on the keypad.

8.The display module will go blank briefly and then display “61001”, based on the operational software installed.

9.Press the UP or DOWN ARROW key to scroll through the list to obtain the proper model dash number. (If a defective card is being used, the display will blink the message “bAd CArd.” Turn start-stop switch OFF and remove the card.)

10.Press the ENTER key on the keypad.

11.When the software loading has successfully completed, the display will show the message “EEPrM donE.” (If a problem occurs while loading the soft ware, the display will blink the message “Pro FAIL” or “bad 12V.” Turn start-stop switch OFF and remove the card.)

12.Turn unit OFF using start-stop switch (ST).

13.Remove the PCMCIA card from the programming/ software port and return the unit to normal operation by placing the start-stop switch in the ON position.

14.Confirm correct model configuration using the key pad to choose code 20 (CD20). The model displayed should match the unit serial number plate.

c.Procedure for setting the date and time:

1.Press the UP or DOWN arrow key until display reads Set TIM.

2.Press the ENTER key on the keypad.

3.The first value to be modified is the date in YYYY MM-DD format. The values will be entered from right to left. Press the UP or DOWN ARROW key to increase or decrease the values. The ENTER key will enter the information for the current field and move to the next value; the CODE SELECT key will allow modi­fication of the previous value.

4.Press the ENTER key on the keypad.

5.The next value to be modified is the time in HH MM format. The values will be entered from right to left. Press the UP or DOWN ARROW key to increase or decrease the values. The ENTER key will enter the information for the current field and move to the next value; the CODE SELECT key will allow modifica­tion of the previous value.

6.Press the ENTER key on the keypad. The date and time will not be committed until start up procedures are completed on the next power up.

d.Procedure for setting the container ID:

The characters will be preset to the container ID already on the controller. If none exist, the de fault will be AAAA0000000.

1.Press the UP or DOWN arrow key until display reads Set ID.

2.Press the ENTER key on the keypad.

3.The values will be entered from right to left. Press the UP or DOWN ARROW key to increase or decrease the values. The ENTER key will enter the in formation for the current field and move to the next value; the CODE SELECT key will allow modification of the previous value.

4.When the last value is entered, press the ENTER key to enter the information to the controller; the CODE SELECT key will allow modification of the previous value.

7.17.4Removing and Installing a Control Module

a.Removal:

1.Disconnect all front wire harness connectors and move wiring out of way.

2.The lower controller mounting is slotted, loosen the top mounting screw (see Figure 7.13) and lift up and out.

3.Disconnect the back connectors and remove module.

4.When removing the replacement module from its packaging, note how it is packaged. When returning the old module for service, place it in the packaging in the same manner as the replacement. The pack aging has been designed to protect the module from both physical and electrostatic discharge damage during storage and transit.

b.Installation:

Install the module by reversing the removal steps.

Torque values for mounting screws (item 2, see Figure 7.13) are 0.23 mkg (20 inch-pounds). Torque value for the connectors is 0.12 mkg (10 inch-pounds).

7.17.5Battery Replacement

Standard Battery Location (Standard Cells):

a.Turn unit power OFF and disconnect power supply.

b.Slide bracket out and remove old batteries. (See Figure 4.4, Item 8)

c.Install new batteries and slide bracket into control box slot.

Use care when cutting wire ties to avoid nicking or cutting wires.

Standard Battery Location (Rechargeable Cells):

a.Turn unit power OFF and disconnect power supply.

b.Disconnect battery wire connector from control box.

c.Slide out and remove old battery and bracket. (See Figure 4.4, Item 8)

d.Slide new battery pack and bracket into the control box slot.

e.Reconnect battery wire connector to control box and replace wire ties that were removed.

7.18Vent Position Sensor Service

The fresh air vent position sensor alarm (AL50) will occur if the sensor reading is not stable for four minutes or if the sensor is outside of its valid range (shorted or open). This can occur if the vent is loose or the panel is defective. To confirm a defective panel, assure that the wing nut is secure and then power cycle the unit. If the alarm immedi­ately reappears as active, the panel should be replaced.

The alarm should immediately go inactive, check the 4-minute stability requirement. If the alarm reoccurs after the four minutes and the panel was known to have been stable, then the sensor should be replaced.

In order to replace the VPS, the panel must be removed and replaced with another upper fresh air panel equipped with VPS.

Upon installation, a new vent position sensor assembly requires calibration as follows:

1.Rotate the vent to the 0 CMH / CFM position.

2.Code select 45 will automatically display. Press the Enter key and hold for five seconds.

3.After the enter key has been pressed the display will read CAL (for calibration).

4.Press the ALT MODE key and hold for five seconds.

5.After the calibration has been completed, Code 45 will display 0 CMH / CFM.

a.Lower Vent Position Sensor Calibration

Calibration of the Lower VPS is only required when the air makeup slide, motor or sensor has been repaired or serviced.

The VPS is calibrated using the keypad:

1.Remove the two nuts that secure the air makeup panel slide to the unit.

2.Rotate the gear clockwise until it stops.

3.Rotate the gear 1/4 turn counterclockwise.

4.Carefully reposition the slide onto the air makeup panel, given that the gear is engaged with the rail and has not moved.

5.Position slide panel to the fully closed position.

6.Code select Cd45 will automatically be shown on the left display.

7.Depress the ENTER key and hold for five seconds. CAL for calibration is displayed.

8.Depress the ALT MODE key on the keypad and hold for five seconds.

9.When calibration has been completed, Cd45 causes 0 CMH/CFM to be shown on the right display.

10.Secure the air makeup panel slide to the unit with the two nuts; stake threads.

7.19Temperature Sensor Service

Procedures for service of the return recorder, return temperature, supply recorder, supply temperature, ambient, defrost temperature, evaporator temperature, and compressor discharge temperature sensors are provided in the following sub paragraphs.

7.19.1Sensor Checkout Procedure

To check a sensor reading, do the following:

a.Remove the sensor and place in a 0°C (32°F) ice-water bath. The ice-water bath is prepared by filling an insulated container (of sufficient size to completely immerse bulb) with ice cubes or chipped ice, then filling voids between ice with water and agitating until mixture reaches 0°C (32°F) measured on a laboratory ther­mometer.

b.Start unit and check sensor reading on the control panel. The reading should be 0°C (32°F). If the reading is correct, reinstall sensor; if it is not, continue with the following.

c.Turn unit OFF and disconnect power supply.

d.Refer to Section 7.17 and remove controller to gain access to the sensor plugs.

e.Using the plug connector marked “EC” that is connected to the back of the controller, locate the sensor wires (RRS, RTS, SRS, STS, AMBS, DTS, or CPDS as required). Follow those wires to the connector and using the pins of the plug, measure the resistance. Values are provided in Table 7–2 and Table 7–3.

Due to the variations and inaccuracies in ohmmeters, thermometers or other test equipment, a reading within 2% of the chart value would indicate a good sensor. If a sensor is defective, the resistance read­ing will usually be much higher or lower than the resistance values given.

Table 7–2  Sensor Resistance - AMBS, DTS, ETS, RRS, RTS, SRS, STS

°C

°F

OHMS

 

°C

°F

OHMS

-40

-40

336,500

 

6

42.8

24,173

-39

-38.2

314,773

 

7

44.6

23,017

-38

-36.4

294,600

 

8

46.4

21,922

-37

-34.6

275,836

 

9

48.2

20,886

-36

-32.8

258,336

 

10

50

19,900

-35

-31

242,850

 

11

51.8

18,975

-34

-29.2

228,382

 

12

53.6

18,093

-33

-27.4

214,164

 

13

55.4

17,258

-32

-25.6

200,909

 

14

57.2

16,466

-31

-23.8

188,545

 

15

59

15,715

-30

-22.0

177,000

 

16

60.8

15,002

-29

-20.2

166,360

 

17

62.6

14,325

-28

-18.4

156,426

 

18

64.4

13,683

-27

-16.6

147,148

 

19

66.2

13,073

-26

-14.8

138,478

 

20

68

12,494

-25

-13

130,374

 

21

69.8

11,944

-24

-11.2

122,794

 

22

71.6

11,420

-23

-9.4

115,702

 

23

73.4

10,923

-22

-7.6

109,063

 

24

75.2

10,450

-21

-5.8

102,846

 

25

77

10,000

-20

-4

97,022

 

26

78.8

9,572

-19

-2.2

91,563

 

27

80.6

9,164

-18

-0.4

86,445

 

28

82.4

8,777

-17

1.4

81,644

 

29

84.2

8,407

-16

3.2

77,139

 

30

86

8,055

-15

5

72,910

 

31

87.8

7,720

-14

6.8

68,938

 

32

89.6

7,401

-13

8.6

65,206

 

33

91.4

7,096

-12

10.4

61,699

 

34

93.2

6,806

-11

12.2

58,401

 

35

95

6,529

-10

14

55,330

 

36

96.8

6,265

-9

15.8

52,381

 

37

98.6

6,013

-8

17.6

49,634

 

38

100.4

5,772

-7

19.4

47,047

 

39

102.2

5,543

-6

21.2

44,610

 

40

104.0

5,323

-5

23

42,314

 

41

105.8

5,114

-4

24.8

40,149

 

42

107.6

4,914

-3

26.6

38,108

 

43

109.4

4,723

-2

28.4

36,182

 

44

111.2

4,540

-1

30.2

34,365

 

45

113

4,365

0

32

32,650

 

46

114.8

4,198

1

33.8

31,030

 

47

116.6

4,038

2

35.6

29,500

 

48

118.4

3,885

3

37.4

28,054

 

49

120.2

3,739

4

39.2

26,688

 

50

122

3,599

5

41

25,396

 

 

 

 

 

Table 7–3  Sensor Resistance - PrimeLINE CPDS

°C

°F

OHMS

 

°C

°F

OHMS

-40

-40

2,889,600

 

18

64.4

117,656

-38

-36.4

2,532,872

 

20

68.0

107,439

-36

-32.8

2,225,078

 

22

71.6

98,194

-34

-29.2

1,957,446

 

24

75.2

89,916

-32

-25.6

1,724,386

 

25

77

86,113

-30

-22.0

1,522,200

 

26

78.8

82,310

-28

-18.4

1,345,074

 

28

82.4

75,473

-26

-14.8

1,190,945

 

30

83.0

69,281

-24

-11.2

1,056,140

 

32

89.6

63,648

-22

-7.6

938,045

 

34

93.2

58,531

-20

-4.0

834,716

 

36

96.8

53,887

-18

-0.4

743,581

 

38

100.4

49,656

-16

3.2

663,593

 

40

104.0

45,812

-14

6.8

593,030

 

42

107.6

42,294

-12

10.4

530,714

 

44

111.2

39,078

-10

14.0

475,743

 

46

114.8

36,145

-8

17.6

426,904

 

48

118.4

33,445

-6

21.2

383,706

 

50

122.0

30,985

-4

24.8

345,315

 

52

125.6

28,724

-2

28.4

311,165

 

54

129.2

26,651

0

32.0

280,824

 

56

132.8

27,750

2

35.6

253,682

 

58

136.4

23,005

4

39.2

229,499

 

60

140.0

21,396

6

42.8

207,870

 

62

143.6

19,909

8

46.4

188,494

 

64

147.2

18,550

10

50.0

171,165

 

66

150.8

17,294

12

53.6

155,574

 

68

154.4

16,133

14

57.2

141,590

 

70

158.0

15,067

16

60.8

129,000

 

72

161.6

14,078

 

7.19.2Sensor Replacement

a.Turn unit power OFF and disconnect power supply.

Include white date code label when cutting out and removing defective sensors. The label could be required for warranty returns.

b.Cut cable. Slide the cap and grommet off a bulb type sensor and save for reuse. Do not cut the grommet.

c.Cut one wire of existing cable 40 mm (1-1/2 inches) shorter than the other wire.

d.Cut replacement sensor wires (opposite colors) back 40 mm (1-1/2 inches). (See Figure 7.14)

e.Strip back insulation on all wiring 6.3 mm (1/4 inch).

Figure 7.14  Sensor Types

Fig_sensor_types.jpg 

f.Slide a large piece of heat shrink tubing over the cable, and place the two small pieces of heat shrink tubing, one over each wire, before adding crimp fit tings as shown in Figure 7.15.

Figure 7.15  Sensor and Cable Splice

Fig_sensor_and_cable_splice_T-359.jpg 

1.Cable

2.Sensor (Typical)

3.Large Heat Shrink Tubing (1)

4.Heat Shrink Tubing, 2 or 3 as required

- - - - -

g.If required, slide the cap and grommet assembly onto the replacement sensor.

h.Slip crimp fittings over dressed wires (keeping wire colors together). Make sure wires are pushed into crimp fittings as far as possible and crimp with crimping tool.

i.Solder spliced wires with a 60% tin and 40% lead Rosincore solder.

j.Slide heat shrink tubing over each splice so that ends of tubing cover both ends of crimp as shown in Figure 7.15.

k.Heat tubing to shrink over splice. Make sure all seams are sealed tightly against the wiring to prevent mois­ture seepage.

Do not allow moisture to enter wire splice area as this may affect the sensor resistance.

l.Slide large heat shrink tubing over both splices and shrink.

m.Position sensor in unit as shown in Figure 7.15 and re-check sensor resistance.

n.Reinstall sensor (refer to Section 7.19.3).

The P5 Pre-Trip test must be run to inactivate probe alarms (refer to Section 5.7).

7.19.3Sensor Re-Installation

Sensors STS and SRS

To properly position a supply sensor, the sensor must be fully inserted into the probe holder. Figure 7.16. Do not allow heat shrink covering to contact the probe holder. For proper placement of the sensor, be sure to position the enlarged positioning section of the sensor against the side of the mounting clamp. This positioning will give the sensor the optimum amount of expo sure to the supply air stream, and will allow the controller to operate correctly.

Sensors RRS and RTS

Reinstall the return sensor as shown in Figure 7.17. For proper placement of the return sensor, be sure to position the enlarged positioning section of the sensor against the side of the mounting clamp.

Sensor DTS

The DTS sensor must have insulating material placed completely over the sensor to ensure the coil metal tempera­ture is sensed.

Sensors ETS1 and ETS2

The ETS1 and ETS2 sensors are located in a tube holder under insulation, as illustrated in Figure 7.18. When the combo sensor is removed and reinstalled, it must be placed in a tube holder by applying thermal grease. Insulating material must completely cover the sensor to ensure the correct temperature is sensed.

Figure 7.16  Supply Sensor Positioning

Fig_supply_sensor_positioning_T-359.jpg 

Figure 7.17  Return Sensor Positioning

Fig_return_sensor_positioning_T-359.jpg 

Figure 7.18  Evaporator Temperature Sensor Positioning

Fig_evap_temp_sensor_positioning_T-359.jpg 

Sensor, CPDS

To replace the compressor discharge sensor (see Figure 7.19) do the following:

a.Ensure the unit is disconnected from the power source and that ST is in OFF position.

b.Remove the existing sensor. Clean all silicone sealer and dielectric compound from the sensor well. Ensure well is clean and dry. Top of compressor, where the sensor seals, must also be clean and dry.

Figure 7.19  Compressor Discharge Temperature Sensor

fig_compressor_discharge_temp_sensor.jpg 

c.Using the syringe supplied with the replacement sensor, squeeze all of the dielectric compound into the sen­sor well.

d.Place a bead of the silicone sealer supplied with the replacement sensor around the sensor sealing ring. Insert sensor into the well with the leads parallel to the suction fitting.

e.Reconnect sensor (see Figure 7.15) and run a Pre-Trip Diagnosis to test.

7.20Electronic Partlow Temperature Recorder (If Equipped)

The microprocessor-based temperature recorder is designed to interface with the DataCORDER to log tempera­ture with time. The electronic recorder will automatically record the return air, supply air, or both, based on the set­ting of temperature controller configuration code CnF37, refer to Table 4–4. The recorder reads and records data from the controller in present time, under normal operating conditions.

If the power has been OFF for more than thirty days, the recorder will NOT re-synchronize (the chart will not advance to present time), the pen tip will move to the currently recorded temperature, and the recorder will resume normal temperature recording.

If using the Electronic Partlow Recorder CTD part number 12-00464-xx

Where xx= an even number (example: 12-00464-08)

The recorder will STOP when the power is OFF, and the pen tip will remain at the last recorded temperature on the chart. When power is applied, and the power off period is less than thirty days, the recorder will retrieve the logged data from the DataCORDER for the power off period and record it onto the chart. Thereafter, the recorder will resume normal temperature recording.

If the optional DataCORDER battery pack is being used and the charge is too low to enable recording during the power off period of less than thirty days, the pen tip will move to below the inner chart ring for the period when NO data was recorded by the DataCORDER.

If the power has been OFF for more than thirty days, the recorder will NOT re-synchronize (the chart will not advance to present time), the pen tip will move to the currently recorded temperature, and the recorder will resume normal temperature recording.

7.20.1Replacing the Recorder

a.Turn power to the unit OFF.

b.Open the recorder door (item 1, see Figure 7.20).

c.Locate the connector below the recorder (item 6), and squeeze the ears together to disconnect the plug.

d.Remove the four mounting screws (item 8), and remove the recorder.

e.Install the new recorder by reversing the above steps.

Figure 7.20  Electronic Partlow Temperature Recorder

Fig_partlow_recorder.jpg 

7.20.2Re-zeroing the Recording Thermometer

For Electronic Partlow Recorder CTD part number 12-00464-xx

Where xx= an odd number (example: 12-00464-03)

Use chart CTD: part number 09-00128-00 (F), part number 09-00128-01 (C).

a.Press the “Calibration” button (item 7, Figure 7.20) on the bottom of the recorder. The pen tip will drive fully down scale, then move upscale to the chart ring at -29°C (-20°F), and stop.

b.If the tip of the pen (item 4) is on the -29°C (-20°F) chart ring, the recorder is in calibration, proceed to step c. If the tip of the pen is NOT on the -29°C (-20°F) chart ring, the operator must loosen the two screws on the bottom of the stylus arm to adjust the pen tip manually to the -29°C (-20°F) chart ring. Tighten the screws when adjustment is complete.

c.Press the calibration button and the pen will position itself to the correct temperature reading.

For Electronic Partlow Recorder CTD part number 12-00464-xx

Where xx= an even number (example: 12-00464-08)

Use chart CTD part number 09-00128-00 (F), part number 09-00128-01 (C).

a.Press the “Calibration” button (item 7, Figure 7.20) on the bottom of the recorder. The pen tip will drive fully down scale, then move upscale to the chart ring at 0°C (32°F), and stop.

b.If the tip of the pen (item 4) is on the 0°C (32°F) chart ring the recorder is in calibration, proceed to step c. If the tip of the pen is NOT on the 0°C (32°F) chart ring, the operator must loosen the two screws on the bot­tom of the stylus arm to adjust the pen tip manually to the 0°C (32°F) chart ring. Tighten the screws when adjustment is complete.

c.Press the calibration button and the pen will position itself to the correct temperature reading.

7.21Maintenance of Painted Surfaces

The refrigeration unit is protected by a special paint system against the corrosive atmosphere in which it normally operates. However, should the paint system be damaged, the base metal can corrode. In order to protect the refrig­eration unit from the highly corrosive sea atmosphere, or if the protective paint system is scratched or damaged, clean area to bare metal using a wire brush, emery paper or equivalent cleaning method. Immediately following cleaning, apply paint to the area, and allow to dry. Refer to the Parts List for proper paint selection.

7.22Communications Interface Module Installation

Figure 7.21  Communications Interface Installation

fig_communications_interface_installation.jpg 

Units that have been factory provisioned for installation of a communication interface module (CIM) have the required wiring installed. If the unit is not factory provisioned, a provision wiring kit (Carrier Transicold part number 76-00685-00) must be installed. Installation instructions are packaged with the kit. To install the module, do the fol­lowing:

Installation requires wiring to the main unit circuit breaker, CB1. Make sure the power to the unit is off and power plug disconnected before beginning installation.

a.CB1 is connected to the power system, see wiring schematic. Ensure that the unit power is off AND that the unit power plug is disconnected.

b.Open control box, see Figure 7.21 and remove low voltage shield. Open high voltage shield.

c.If using factory provisioned wiring, remove the circuit breaker panel, with circuit breaker, from the control box. Locate, wires CB21/CIA3, CB22/CIA5 and CB23/CIA7 that have been tied back in the wire harness. Remove the protective heat shrink from the ends of the wires.

d.Refit the circuit breaker panel.

e.Fit the new CIM into the unit.

f.Attach three wires CB21/CIA3, CB22/CIA5 and CB23/CIA7 to the CIM at connection CIA.

g.Locate connectors CIA and CIB, remove plugs if re quired, and attach to the module.

h.Replace the low voltage shield.

Table 7–4  Recommended Bolt Torque Values (Dry, Non-Lubricated for 18-8 Stainless Steel)

BOLT DIA.

THREADS

in-lb

ft-lb

N-m

Free Spinning

#4

40

5.2

0.4

0.6

#6

32

9.6

0.8

1.1

#8

32

20

1.7

2.3

#10

24

23

1.9

2.6

1/4

20

75

6.3

8.5

5/16

18

132

11

14.9

3/8

16

240

20

27.1

7/16

14

372

31

42

1/2

13

516

43

58.3

9/16

12

684

57

77.3

5/8

11

1104

92

124.7

3/4

10

1488

124

168.1

Non Free Spinning (Locknuts etc.)

1/4

20

82.5

6.9

9.3

5/16

18

145.2

12.1

16.4

3/8

16

264

22.0

29.8

7/16

14

409.2

34.1

46.2

1/2

13

567.6

47.3

64.1

9/16

12

752.4

62.7

85

5/8

11

1214.4

101.2

137.2

3/4

10

1636.8

136.4

184.9

 

Table 7–5  R-134a Refrigerant Pressure Temperature Chart
Note: Underline figures are inches of mercury vacuum

°F

°C

PSIG

 

°C

°F

BAR

-40

-40.0

14.8

 

-40

-40.0

-0.49

-38

-38.9

13.9

 

-39

-38.2

-0.46

-36

-37.8

13.0

 

-38

-36.4

-0.43

-34

-36.7

12.0

 

-37

-34.6

-0.40

-32

-35.6

10.9

 

-36

-32.8

-0.37

-30

-34.4

9.8

 

-35

-31.0

-0.34

-28

-33.3

8.7

 

-34

-29.2

-0.30

-26

-32.2

7.5

 

-33

-27.4

-0.27

-24

-31.1

6.3

 

-32

-25.6

-0.23

-22

-30.0

5.0

 

-31

-23.8

-0.20

-20

-28.9

3.7

 

-30

-22.0

-0.16

-18

-27.8

2.3

 

-29

-20.2

-0.12

-16

-26.7

0.8

 

-28

-18.4

-0.07

-14

-25.6

0.3

 

-27

-16.6

-0.03

-12

-24.4

1.1

 

-26

-14.8

0.02

-10

-23.3

1.9

 

-25

-13.0

0.06

-8

-22.2

2.8

 

-24

-11.2

0.11

-6

-21.1

3.6

 

-23

-9.4

0.16

-4

-20.0

4.6

 

-22

-7.6

0.22

-2

-18.9

5.5

 

-21

-5.8

0.27

0

-17.8

6.5

 

-20

-4.0

0.33

2

-16.7

7.5

 

-19

-2.2

0.39

4

-15.6

8.5

 

-18

-0.4

0.45

6

-14.4

9.6

 

-17

1.4

0.51

8

-13.3

10.8

 

-16

3.2

0.57

10

-12.2

11.9

 

-15

5.0

0.64

12

-11.1

13.1

 

-14

6.8

0.71

14

-10.0

14.4

 

-13

8.6

0.78

16

-8.9

15.7

 

-12

10.4

0.85

18

-7.8

17.0

 

-11

12.2

0.93

20

-6.7

18.4

 

-10

14.0

1.01

22

-5.6

19.9

 

-9

15.8

1.09

24

-4.4

21.3

 

-8

17.6

1.17

26

-3.3

22.9

 

-7

19.4

1.25

28

-2.2

24.5

 

-6

21.2

1.34

30

-1.1

26.1

 

-5

23.0

1.43

32

0.0

27.8

 

-4

24.8

1.53

34

1.1

29.5

 

-3

26.6

1.62

36

2.2

31.3

 

-2

28.4

1.72

38

3.3

33.1

 

-1

30.2

1.82

40

4.4

35.0

 

0

32.0

1.93

42

5.6

37.0

 

1

33.8

2.04

44

6.7

39.0

 

2

35.6

2.15

46

7.8

41.1

 

3

37.4

2.26

48

8.9

43.2

 

4

39.2

2.38

50

10.0

45.4

 

5

41.0

2.50

52

11.1

47.7

 

6

42.8

2.62

54

12.2

50.0

 

7

44.6

2.75

56

13.3

52.4

 

8

46.4

2.88

58

14.4

54.9

 

9

48.2

3.01

60

15.6

57.4

 

10

50.0

3.15

62

16.7

60.0

 

11

51.8

3.29

64

17.8

62.7

 

12

53.6

3.43

66

18.9

65.4

 

13

55.4

3.58

68

20.0

68.2

 

14

57.2

3.73

70

21.1

71.1

 

15

59.0

3.88

72

22.2

74.1

 

16

60.8

4.04

74

23.3

77.1

 

17

62.6

4.21

76

24.4

80.2

 

18

64.4

4.37

78

25.6

83.4

 

19

66.2

4.54

80

26.7

86.7

 

20

68.0

4.72

82

27.8

90.0

 

21

69.8

4.90

84

28.9

93.5

 

22

71.6

5.08

86

30.0

97.0

 

23

73.4

5.27

88

31.1

100.6

 

24

75.2

5.46

90

32.2

104.3

 

25

77.0

5.65

92

33.3

108.1

 

26

78.8

5.85

94

34.4

112.0

 

27

80.6

6.06

96

35.6

115.9

 

28

82.4

6.27

98

36.7

120.0

 

29

84.2

6.48

100

37.8

124.2

 

30

86.0

6.70

102

38.9

128.4

 

31

87.8

6.93

104

40.0

132.7

 

32

89.6

7.15

106

41.1

137.2

 

33

91.4

7.39

108

42.2

141.7

 

34

93.2

7.63

110

43.3

146.4

 

35

95.0

7.87

112

44.4

151.1

 

36

96.8

8.12

114

45.6

156.0

 

37

98.6

8.37

116

46.7

160.9

 

38

100.4

8.63

118

47.8

166.0

 

39

102.2

8.90

120

48.9

171.2

 

40

104.0

9.17

122

50.0

176.5

 

41

105.8

9.44

124

51.1

181.8

 

42

107.6

9.72

126

52.2

187.4

 

43

109.4

10.01

128

53.3

193.0

 

44

111.2

10.30

130

54.4

198.7

 

45

113.0

10.60

132

55.6

204.6

 

46

114.8

10.90

134

56.7

210.6

 

47

116.6

11.21

136

57.8

216.7

 

48

118.4

11.53

138

58.9

222.9

 

49

120.2

11.85

140

60.0

229.2

 

50

122.0

12.18

142

61.1

235.7

 

51

123.8

12.51

144

62.2

242.3

 

52

125.6

12.85

146

63.3

249.0

 

53

127.4

13.20

148

64.4

255.9

 

54

129.2

13.56

150

65.6

262.9

 

55

131.0

13.92

 

 

 

 

56

132.8

14.28

 

 

 

 

57

134.6

14.66

 

 

 

 

58

136.4

15.04

 

 

 

 

59

138.2

15.42

 

 

 

 

60

140.0

15.82

 

 

 

 

61

141.8

16.22

 

 

 

 

62

143.6

16.63

 

 

 

 

63

145.4

17.04

 

 

 

 

64

147.2

17.47

 

 

 

 

65

149.0

17.90