Section 7

SERVICE

Use a refrigerant recovery system whenever removing refrigerant. When working with refrigerants you must comply with all local government environmental laws. In the U.S.A., refer to EPA section 608.

EXPLOSION HAZARD Failure to follow this WARNING can result in death, serious personal injury and / or property damage. Never use air or gas mixtures containing oxygen (O2) for leak testing or operating the product. Charge only with refrigerants R-134a or R-513A as specified for the unit model number: Refrigerant must conform to AHRI Standard 700 specification.

Annual maintenance procedures for PrimeLINE units 69NT40-561 can be found in the 62-10327 Annual Maintenance Manual, located in the Literature section of the Container Refrigeration website. To find the manual from the Literature section, click on Container Units > All Container Units > Operation.

7.1Section Layout

Service procedures are provided in this section beginning with refrigeration system service, then refrigeration system component service, electrical system service, temperature recorder service and general service. See the Table of Contents to locate specific topics.

7.2Manifold Gauge Set

The manifold gauge set (see Figure 7.1) is used to determine system operating pressure, add refrigerant charge, and to equalize or evacuate the system.

Figure 7.1  Manifold Gauge Set

T-362_91a.jpg 

1)Suction Pressure Valve (shown backseated)

2)Suction Pressure Gauge

3)Discharge Pressure Gauge

4)Discharge Pressure Valve (shown frontseated)

5)High Side Connection

6)Utility Connection to:
a. Refrigerant Cylinder
b. Vacuum Pump
c. Oil Container

7)Low Side Connection

- - - - -

When the Suction Pressure Valve is frontseated (turned all the way in), the suction (low) pressure can be checked at the Suction Pressure Gauge.

When the Discharge Pressure Valve is frontseated, the discharge (high) pressure can be checked at the Discharge Pressure Gauge.

When both valves are backseated (all the way out), high pressure vapor will flow into the low side.

When the Suction Pressure Valve is open and the Discharge Pressure Valve is shut, the system can be charged through the Utility Connection. Oil can also be added to the system.

A manifold gauge / hose set with self-sealing hoses (see Figure 7.2) is required for service of the models covered within this manual. The manifold gauge/hose set is available from Carrier Transicold. (P/N 07-00294-00, which includes items 1 through 6, Figure 7.2.)

It is recommended that the manifold gauge set be dedicated to a specified refrigerant (R-134a or R-513A).

7.2.1Evacuating the Manifold Gauge Set

If the manifold gauge / hose set is new or was exposed to the atmosphere, it will need to be evacuated to remove contaminants and air as follows:

1.Backseat (turn counterclockwise) both field service couplings (see Figure 7.2) and midseat both hand valves.

2.Connect the yellow hose to a vacuum pump and refrigerant cylinder.

3.Evacuate to 10 inches of vacuum and then charge with refrigerant to a slightly positive pressure of 0.1 kg / cm2 (1.0 psig).

4.Frontseat both manifold gauge set valves and disconnect from cylinder. The gauge set is now ready for use.

Figure 7.2  Manifold Gauge / Hose Set

T-362_91b.jpg 

1)RED Refrigeration and / or Evacuation Hose (SAE J2196 / R-134a)

2)Hose Fitting (0.5-16 Acme)

3)YELLOW Refrigeration and/or Evacuation Hose (SAE J2196 / R-134a)

4)Hose Fitting with O-ring (M14 x 1.5)

5)High Side Field Service Coupling (Red Knob)

6)BLUE Refrigeration and/or Evacuation Hose (SAE J2196/R-134a)

7)Low Side Field Service Coupling (Blue Knob)

- - - - -

7.3Service Connections

The compressor suction, compressor discharge, and the liquid line service valves (see Figure 7.3) are provided with a double seat and an access valve which enables servicing of the compressor and refrigerant lines.

Turning the valve stem clockwise (all the way forward) will frontseat the valve to close off the line connection and open a path to the access valve. Turning the stem counterclockwise (all the way out) will backseat the valve to open the line connection and close off the path to the access valve.

With the valve stem midway between frontseat and backseat, both of the service valve connections are open to the access valve path.

For example, the valve stem is first fully backseated when connecting a manifold gauge to measure pressure. Then, the valve is opened 1/4 to 1/2 turn to measure the pressure.

Figure 7.3  Service Valve

T-362_92.jpg 

1)Access Valve

2)Step Cap

3)Valve Stem

4)Compressor or Filter Drier
Inlet Connection

5)Line Connection

- - - - -

Connection of the manifold gauge / hose set (see Figure 7.4) is dependent on the component being serviced. If only the compressor is being serviced, the high side coupling is connected to the discharge service valve.

For service of the low side (after pump down), the high side coupling is connected to the liquid line service valve. The center hose connection is brought to the tool being used (vacuum, tank, etc.).

7.3.1Connecting the Manifold Gauge Set

1.Remove the service valve stem cap and make sure the valve is backseated.

2.Remove the access valve cap (see Figure 7.3).

3.Connect the field service coupling (see Figure 7.2) to the access valve.

4.Turn the field service coupling knob clockwise to open the system to the gauge set.

5.Slightly midseat the service valve to read system pressures.

6.Repeat the procedure to connect the other side of the gauge set.

To prevent trapping liquid refrigerant in the manifold gauge set, make sure set is brought to suction pressure before disconnecting.

7.3.2Removing the Manifold Gauge Set

1.While the compressor is still ON, backseat the high side service valve.

2.Midseat both hand valves on the manifold gauge set and allow the pressure in the manifold gauge set to be drawn down to low side pressure. This returns any liquid that may be in the high side hose to the system.

3.Backseat the low side service valve.

4.Backseat both field service couplings and frontseat both manifold hand valves.

5.Remove couplings from the access valves.

6.Install both service valve stem caps and service port caps (finger-tight only).

7.4Pump Down the Unit

To service the filter drier, economizer, expansion valves, economizer solenoid valve, digital unloader valve or evaporator coil, pump the refrigerant into the high side of the unit:

The scroll compressor achieves low suction pressure very quickly. Do not use the compressor to evacuate the system below 0 psig. Never operate the compressor with the suction or discharge service valves closed (frontseated). Internal damage will result from operating the compressor in a deep vacuum.

7.4.1Automatic Pump Down

1.To perform an Automatic Pump Down, use function code Cd59 Pump Down Logic. See Cd59 description in Table 4–4 Controller Function Codes.

7.4.2Manual Pump Down:

1.Attach manifold gauge set to the compressor suction and discharge service valves. See Section 7.2.

2.Start the unit and run in the frozen mode, with controller set below -10°C (14°F), for 10 to 15 minutes.

3.Check function code Cd21 (See Section 4.2.2). The economizer solenoid valve should be open. If not, continue to run until the valve opens.

4.Frontseat the liquid line service valve. When the suction reaches a positive pressure of 0.1 bar (1.4 psig), place the Start-Stop switch (ST) to “0” to turn the unit Off.

5.Frontseat the suction service valve and discharge service valve. The refrigerant will be trapped between the discharge service valve and the liquid line valve.

6.Before opening up any part of the system, a slight positive pressure should be indicated on the pressure gauge. Remove power from the unit before opening any part of the system. If a vacuum is indicated, emit refrigerant by cracking the liquid line valve momentarily to build up a slight positive pressure.

7.When opening up the refrigerant system, certain parts may frost. Allow the part to warm to ambient temperature before dismantling. This avoids internal condensation which puts moisture in the system.

8.After repairs have been made, make sure to perform a refrigerant leak check (See Section 7.5), and evacuate and dehydrate the low side (see Section 7.6).

9.Check refrigerant charge. See Section 7.7.1.

7.5Refrigerant Leak Checking

EXPLOSION HAZARD Failure to follow this WARNING can result in death, serious personal injury and / or property damage. Never use air or gas mixtures containing oxygen (O2) for leak testing or operating the product. Charge only with refrigerants R-134a or R-513A as specified for the unit model number: Refrigerant must conform to AHRI Standard 700 specification.

1.The recommended procedure for finding leaks in a system is with an appropriate electronic leak detector. Testing joints with soapsuds is satisfactory only for locating large leaks.

2.If the system is without refrigerant, charge the system with refrigerant to build up pressure between 2.1 to 3.5 bar (30.5 to 50.8 psig). To ensure complete pressurization of the system, refrigerant should be charged at the compressor suction valve and the liquid line service valve. Remove refrigerant cylinder and leak-check all connections.

Only refrigerant R-134a or R-513A, as specified for the unit model number, should be used to pressurize the system. Any other gas or vapor will contaminate the system, which will require additional purging and evacuation of the system.

3.If required, remove refrigerant using a refrigerant recovery system and repair any leaks. Check for leaks.

4.Evacuate and dehydrate the unit. See Section 7.6.

5.Charge unit. See Section 7.7.

7.6Evacuation and Dehydration

7.6.1General

Moisture is detrimental to refrigeration systems. The presence of moisture in a refrigeration system can have many undesirable effects. The most common are copper plating, acid sludge formation, “freezing-up” of metering devices by free water, and formation of acids, resulting in metal corrosion.

7.6.2Preparation

1.Evacuate and dehydrate only after completing a pressure leak test. See Section 7.5.

2.Essential tools to properly evacuate and dehydrate any system include a vacuum pump (8m3/hr = 5 cfm volume displacement) and an electronic vacuum gauge. The pump is available from Carrier Transicold, P/N 07-00176-11. The micron gauge is P/N 07-00414-00.

3.If possible, keep the ambient temperature above 15.6°C (60°F) to speed evaporation of moisture. If the ambient temperature is lower than 15.6°C (60°F), ice might form before moisture removal is complete. Heat lamps or alternate sources of heat may be used to raise the system temperature.

4.Additional time may be saved during a complete system pump down by replacing the filter drier with a section of copper tubing and the appropriate fittings. Installation of a new drier may be performed during the charging procedure.

Figure 7.4  Refrigeration System Service Connections

T-362_93.jpg 

1)Economizer Solenoid Valve

2)Receiver or Water Cooled Condenser

3)Compressor

4)Discharge Service Connection

5)Suction Service Connection

6)Vacuum Pump

7)Electronic Vacuum Gauge

8)Refrigerant Cylinder

9)Reclaimer

10)Manifold Gauge Set

11)Liquid Service Connection

- - - - -

7.6.3Evacuate and Dehydrate - Complete System

See Partial System procedure for information pertaining to partial system evacuation and dehydration.

1.Remove all refrigerant using a refrigerant recovery system.

2.The recommended method to evacuate and dehydrate the system is to connect evacuation hoses at the compressor suction and liquid line service valve (see Figure 7.4). Make sure the service hoses are suited for evacuation purposes.

To prevent the area between the Economizer Solenoid Valve (ESV) and the compressor from being isolated during evacuation, it is necessary to open the ESV using a magnet tool (Carrier Transicold P/N 07-00512-00).

3.Remove the ESV coil from the valve body. Place the magnet tool over the valve stem. An audible click will be heard when the ESV opens.

Make sure to replace the valve coil before restating the unit. Starting the unit with the coil removed from the valve will burn out the coil.

4.Test the evacuation setup for leaks by backseating the unit service valves and drawing a deep vacuum with the vacuum pump and gauge valves open. Shut off the pump and check to see if the vacuum holds. Repair leaks if necessary.

5.Midseat the refrigerant system service valves.

6.Open the vacuum pump and electronic vacuum gauge valves, if they are not already open. Start the vacuum pump. Evacuate the unit until the electronic vacuum gauge indicates 2000 microns. Close the electronic vacuum gauge and vacuum pump valves. Shut off the vacuum pump. Wait a few minutes to be sure the vacuum holds.

7.Break the vacuum with either clean refrigerant (R-134a or R-513A as specified for the unit model number) or dry nitrogen. Raise system pressure to roughly 0.14 bar (2 psig), monitoring it with the compound gauge.

8.If refrigerant was used, remove using a refrigerant recovery system. If nitrogen was used, relieve the pressure.

9.Repeat steps 6 and 7 one time.

10.Remove the copper tubing and change the filter drier. Evacuate unit to 500 microns. Close the electronic vacuum gauge and vacuum pump valves. Shut off the vacuum pump. Wait five minutes to see if vacuum holds. This procedure checks for residual moisture and/or leaks.

11.With a vacuum still in the unit, the refrigerant charge may be drawn into the system from a refrigerant container on weight scales.

7.6.4Evacuate and Dehydrate - Partial System

1.If refrigerant charge has been removed from the low side only, evacuate the low side by connecting the evacuation set-up at the compressor suction valve and the liquid service valve but leave the service valves frontseated until evacuation is completed.

2.Once evacuation has been completed and the pump has been isolated, fully backseat the service valves to isolate the service connections and then continue with checking and, if required, adding refrigerant in accordance with normal procedures.

7.7Refrigerant Charge

EXPLOSION HAZARD Failure to follow this WARNING can result in death, serious personal injury and / or property damage. Never use air or gases containing oxygen (O2) for leak testing or operating the product. Charge only with refrigerants R-134a or R-513A as specified for the unit model number: Refrigerant must conform to AHRI Standard 700 specification.

7.7.1Checking the Refrigerant Charge

Use a refrigerant recovery system whenever removing refrigerant. When working with refrigerants you must comply with all local government environmental laws. In the U.S.A., see EPA Section 608.

1.Connect the gauge manifold to the compressor discharge and suction service valves. For units operating on a water-cooled condenser, change over to air-cooled operation.

2.Bring the container temperature to approximately 0°C (32°F) or below. Then set the controller setpoint to -25°C (-13°F).

3.Partially block the condenser coil inlet air. If covering the lower portion of the coil is not sufficient, remove the left hand infill panel and cover the left side of the coil. Increase the area blocked until the compressor discharge pressure is raised to approximately 12.8 bar (185 psig).

4.On units equipped with a receiver, the level should be between the glasses. On units equipped with a watercooled condenser, the level should be at the center of the glass. If the refrigerant level is not correct, See Section 7.7.2 and Section 7.7.3 to add or remove refrigerant as required.

7.7.2Adding Refrigerant to System - Full Charge

1.Evacuate unit and leave in deep vacuum. See Section 7.6.1.

2.Place refrigerant cylinder on scale and connect charging line from cylinder to liquid line valve. Purge charging line at liquid line valve and then note weight of cylinder and refrigerant.

3.Open liquid valve on cylinder. Open liquid line valve halfway and allow liquid refrigerant to flow into the unit until the correct weight of refrigerant has been added as indicated by scales. See Section 3.2

4.It may be necessary to finish charging unit through suction service valve in gas form, due to pressure rise in high side of the system.

5.Backseat the manual liquid line valve to close off the gauge port. Close liquid valve on cylinder.

6.Start the unit in cooling mode. Run for approximately 10 minutes and check the refrigerant charge.

7.7.3Adding Refrigerant to System - Partial Charge

1.Examine the refrigerant system for any evidence of leaks, repair as necessary. See Section 7.5.

2.Maintain the conditions outlined in Section 7.7.1.

3.Fully backseat the suction service valve and remove the service port cap.

4.Connect the charging line between suction service valve port and refrigerant cylinder. Open the VAPOR valve.

5.Partially frontseat (turn clockwise) the suction service valve and slowly add charge until the refrigerant appears at the proper level. Be careful not to frontseat the suction valve fully. If the compressor is operated in a vacuum, internal damage may result.

7.8Converting to R-513A Refrigerant

This procedure only applies to R-513A-ready units for 69NT40-561-500 models. This conversion is only by approval of the equipment owner.

1.The compressor will have a green dot on the DUV fitting to note that it can accept R-513A.

2.Recover all R-134a refrigerant from the unit, by following procedure in Section 7.6.

3.Change the filter drier.

4.Evacuate to 500 microns by placing the vacuum pump on the liquid line and suction service valve.

5.Charge the unit with a full charge of R-513A refrigerant, by following procedure in Section 7.7.2. Charge amounts are found in Section 3.2 Refrigeration System Data.

When charging the unit with R-513A refrigerant, charge as a liquid only. R-513A is an azeotrope blend containing R-1234yf and R-134a. Charging or topping off as a vapor will result in an incorrect mixture of blend in the system.

6.Upon completion, change the refrigerant label (Carrier P/N 76-50235-00) on the front of the unit indicating the change in refrigerant.

7.9Compressor

Make sure power to the unit is OFF and power plug disconnected before replacing the compressor.

Before disassembly of the compressor, be sure to relieve the internal pressure very carefully by slightly loosening the couplings to break the seal.

The scroll compressor achieves low suction pressure very quickly. Do not use the compressor to evacuate the system below 0 psig. Never operate the compressor with the suction or discharge service valves closed (frontseated). Internal damage will result from operating the compressor in a deep vacuum.

The PrimeLINE unit has a hermetically sealed compressor that should not be opened and/or repaired.  Doing so can cause a loss in performance and premature system failure due to the precision machinery and assembly required within the compressor.  To repair the unit, remove the faulty compressor and replace with an approved Carrier compressor.  If the return of the compressor is not required, follow local waste collection & recycling regulations in discarding the compressor.

Replacement compressors are supplied without oil.

7.9.1Removing and Replacing the Compressor

1.Turn the unit ON and run it in full cool mode for 10 minutes.

If the compressor is not operational, frontseat the suction and discharge service valves and go to step 5.

2.Frontseat the manual liquid line valve and allow the unit to pull-down to 0.1 kg/cm2 (1 psig).

3.Place the Start-Stop switch (ST) to “0”, turn the unit circuit breaker (CB-1) OFF, and disconnect power to the unit.

4.Frontseat the discharge and suction service valves.

5.Remove all remaining refrigerant from the compressor using a refrigerant recovery system.

6.Remove the compressor terminal cover, disconnect the ground wire and pull the cable plug from the compressor terminals. Install the terminal cover back after removing the power cable.

Inspect the power cable (plug) terminals to ensure they are not deformed or have any signs of heat or arcing. If any damage is noted, replace the power cable.

7.Remove the Rotalock fittings from the suction and discharge service connections, and uncouple the unloader and economizer lines from the compressor.

8.Cut the dome temperature sensor (CPDS) wires. The replacement compressor comes with a CPDS already assembled.

9.Remove and save the compressor base mounting bolts. Discard the four top resilient mounts and washers.

10.Remove (slide out) the old compressor from the unit.

11.Inspect compressor base plate for wear. Replace, if necessary.

12.Wire tie the compressor base plate to the compressor, and slide the new compressor into the unit. See Figure 7.5.

Figure 7.5  Compressor Kit

T-362_95.jpg 

1)Compressor Discharge Temperature Sensor (CPDS)

2)O-Ring, Economizer Connection

3)Teflon Seal for Valve Connection (2)

4)Base Mounting Bolts

5)SST Washers

6)Resilient Mount

7)SST Washers

8)Mylar Washers

9)Wire Ties

10)Power Cable Gasket, Ground Connection Screw

11)Teflon Seal for Valve Connection (2)

12)O-Ring, Unloader Connection

- - - - -

13.Cut and discard the wire ties used to hold the base plate to the compressor.

14.Place the new SST washers on each side of the resilient mounts, and the new Mylar washer on the bottom of it as shown in Figure 7.5. Install the four base mounting bolts loosely.

15.Place the new Teflon seals at the compressor suction and discharge ports as well as the O-rings at the unloader and economizer line connection ports. Hand tighten all four connections.

16.Torque the four base-mounting screws to 6.2 mkg (45 ft-lbs).

17.Torque the compressor ports / connections.

Service Valve / Connection

Torque Value

Suction and Discharge Rotalocks

108.5 to 135.5 Nm (80 to 100 ft-lbs.)

Unloader connection

24.5 to 27 Nm (18 to 20 ft-lbs.)

Economized connection

32.5 to 35 Nm (24 to 26 ft-lbs.)

18.Connect (butt-splice and heat shrink) the new compressor dome temperature sensor with the old sensor wires removed in step 8. Wire-tie any loose wiring as appropriate.

19.Evacuate the compressor to 1000 microns if the unit was pumped down before the replaced compressor was removed. Otherwise, evacuate the complete unit and charge it with refrigerant (see Section 7.6.1 and Section 7.7.1).

20.Open the compressor terminal cover and connect the compressor power cable following the steps below:

a.Liberally coat the orange gasket surfaces with the Krytox lubricant.

b.Install the orange gasket part onto the compressor fusite with the grooved or threaded side out. Ensure that the gasket is seated onto the fusite base.

c.Coat the inside of the power plug (female) connector pins with the Krytox lubricant, and insert the plug onto the compressor terminal connections. Make sure, the orange gasket has bottomed out onto the fusite and it fits securely onto the terminal pins while fully inserted into the orange plug.

d.Connect the green ground wire to the grounding tab located inside the terminal box of the compressor using the self-tapping grounding screw. Close the compressor terminal box using the terminal cover removed in step 20.

21.Backseat all service valves, connect the power to the unit and run it for at least 20 minutes.

22.Perform a leak check of the system.

7.10High Pressure Switch

7.10.1Checking High Pressure Switch

Do not use a nitrogen cylinder without a pressure regulator.

The high pressure switch is non-adjustable.

1.Remove switch as outlined in Section 7.10.2.

2.Connect ohmmeter or continuity light across switch terminals. Ohm meter will indicate no resistance or continuity light will be illuminated if the switch closed after relieving compressor pressure.

3.Connect hose to a cylinder of dry nitrogen (see Figure 7.6).

Figure 7.6  High Pressure Switch Testing

T-362_96.jpg 

1)Cylinder Valve and Gauge

2)Pressure Gauge (0 to 36 kg/cm2 = 0 to 400 psig)

3)Bleed-Off Valve

4)1/4 inch Connection

5)Nitrogen Cylinder

6)Pressure Regulator

- - - - -

4.Set nitrogen pressure regulator at 26.4 kg/cm2 (375 psig) with bleed-off valve closed.

5.Close valve on cylinder and open bleed-off valve.

6.Open cylinder valve. Slowly close bleed-off valve to increase pressure on switch. The switch should open at a static pressure up to 25 kg/cm2 (350 psig). If a light is used, the light will go out. If an ohmmeter is used, the meter will indicate open circuit.

7.Slowly open bleed-off valve to decrease the pressure. The switch should close at 18 kg/cm2 (250 psig).

7.10.2Replacing High Pressure Switch

1.Remove the refrigerant charge.

2.Disconnect wiring from defective switch. The high pressure switch is located on the discharge connection or line and is removed by turning counterclockwise.

3.Install a new high pressure switch after verifying switch settings.

4.Evacuate, dehydrate and recharge the system.

5.Start the unit, verify refrigeration charge and oil level.

7.11Condenser Coil

7.11.1Condenser Coil Cleaning

To ensure optimal efficiency of the unit the condenser coil must be clean. The condenser coil should be cleaned at least once a year, but more frequent cleaning may be required depending on operating conditions. The coil is cleaned with fresh water sprayed in the reverse direction of the air flow to remove any debris from the coil. A high pressure washer is not required, mains water pressure is sufficient.

Do not remove the condenser fan grille before turning power OFF and disconnecting the power plug.

1.Make sure the unit is powered off and the plug is disconnected.

2.Remove the condenser fan grille.

3.Starting from the top of the coil, use a water hose with a nozzle to wash the coil from the inside out.

4.Systematically wash across the inside top face of the coil until the water runs clean.

5.Wash down the center section, and then through the bottom of the coil, continue washing until the water runs clear.

6.After the coil is clean, rinse the condenser fan to remove any dirt build up from the blades.

7.Replace the condenser fan grille ensuring that it is centered around the fan.

7.11.2Condenser Coil Removal

1.Using a refrigerant reclaim system remove the refrigerant charge.

Do not remove the condenser fan grille before turning power OFF and disconnecting the power plug.

2.Remove the condenser fan grille, retain all bolts and washers for reuse.

3.Remove the condenser fan.

4.Remove the infill panels to the left and right of the condenser fan shroud.

5.Remove the condenser fan shroud.

6.Unplug the condenser fan motor.

7.Remove and retain sufficient putty from around the motor wire harness to allow the harness to be slid back through the side support bracket.

8.Cut the top and bottom drain lines midway between the side support bracket and the first cable tie, approx 150mm (6”) from the side support bracket.

9.Remove and retain sufficient putty from around the drain lines to allow the tubes to be slid back through the side support bracket.

10.Remove filter drier.

11.Unbraze the inlet connection to coil.

12.Remove the cushion clamps securing the liquid line to the top and bottom receiver brackets, retain all clamps and securing hardware.

13.Place a support under the condenser coil before releasing the coil from the frame.

14.Remove the lower mounting bracket bolts from the inside of the coil.

15.Remove the top mounting bracket bolts and grille extension mount from inside the coil.

16.Remove the side support bracket mounting bolts.

17.Slide the condenser assembly with receiver out of the unit.

7.11.3Condenser Coil Preparation

Before installing the new condenser coil, the receiver assembly and mounting hardware must be removed from the old coil assembly:

1.From the old coil, unbolt the receiver assembly from side support bracket.

2.Unbraze the receiver assembly from the coil outlet line and remove from the coil assembly.

3.Unbolt the side support bracket from the top and bottom coil supports and remove from old coil.

4.Refit the side support bracket to the new coil ensuring that the top and bottom are flush mounted with the coil support.

7.11.4Condenser Coil Installation

Once the side support bracket has been secured to the new condenser coil, the entire assembly is ready to be installed into the unit:

1.Slide the new condenser coil into place ensuring the coil inlet connection is mated to the pipework and that the coil is fully supported.

2.Secure the condenser coil into the unit using the retained hardware; refit the mylar and fender washers:

a.Refit the side support bracket bolts.

b.Refit the top support bracket bolts as well as the top grille extension support.

c.Refit the bottom support bracket bolts.

3.Braze the condenser coil inlet connection.

4.Insert the receiver pipe work onto the coil outlet and loosely secure the receiver assembly to the side support bracket with the retained hardware.

5.Braze the outlet connection to the receiver assembly.

6.Install a new filter drier.

7.Replace the liquid line cushion clamps.

8.Secure the receiver assembly to the side support bracket.

9.Pressure / leak test the coil and filter drier connections. See Section 7.5.

10.Evacuate the entire unit. See Section 7.6.

11.Slide the top and bottom drain lines back into place through the side support bracket.

12.Using the two supplied straight connectors and contact adhesive reconnect the drain lines.

13.Slide the condenser fan motor wiring harness back through the side support bracket and refit to condenser motor.

14.Replace all wire ties that were removed to properly secure the drain line and wiring.

15.Reseal the wire harness and drain line penetrations with the putty.

16.Slide the condenser fan onto the motor shaft reversed but do not secure.

17.Refit the condenser fan shroud to the unit. Use the condenser fan as a guide to ensure the shroud is properly centered around the fan.

18.Remove the condenser fan, and place it on the shaft facing the correct direction. Adjust the fan to the correct position, 37mm (1.5”) from the fan shroud, see Figure 7.7.

Figure 7.7  Condenser Fan Position

T-362_98.jpg 

19.Use Loctite “H” on the fan set screws, and tighten.

20.Refit left and right infill panels.

21.Refit the condenser fan grille, ensuring the grille is properly centered around the condenser fan.

22.Evacuate the entire unit. See Section 7.6.

23.Recharge the unit with the charge shown on the unit serial plate. See Section 7.7. It is important for proper unit operation that the charge is weighed into the unit.

7.11.5Micro Channel Heat Exchanger (MCHE) Repair Instructions

Before proceeding with the installation, make sure power to the unit is OFF and the power plug is disconnected.

Follow proper lockout / tagout procedures to ensure that the power cannot be inadvertently energized.

Dress with personal protective equipment (PPE) gear before attempting any field repairs. Aluminum fin is extremely sharp. Wear gloves and protective eye wear.

Tools Required:

Screw driver set

Standard hand tools

Needle nose pliers (long nose)

35 degree bent long nose pliers

Duckbill pliers

Tube brush (soft bristle)

Emery cloth

Disposable gloves

Utility knife

Protective goggles

Vacuum pump

Gauge manifold

Alcohol

Water

Parts Required:

Item

Part Number

Description

Quantity

 

76-00893-00

MCHE Repair Kit

1

1

02-00312-00

3M SCOTCH-WELD DP100 Epoxy B/A Gray

1

2

58-05127-00

Dispensing Gun For 1.69 oz Cartridges

1

3

58-05127-01

Plunger, 1:1 Mix Ratio

1

4

58-05127-02

Mixer Nozzles, 1.69 oz Cartridges

3

5

68-18212-00

Plate, Aluminum

3

6

58-05127-03

Emery Cloth Block-Shaped 180 Grit, 1” x 7”

2

7

58-05127-04

Zip-Press Polyethylene Bag 2 Mil Thick, 2” x 2”

1

8

58-05127-05

Documents Holder, Press to Close, 10” x 8-1/2”

1

9

58-05127-06

Nonmarring Picks, Wood, Flat Tip/Point Tip, 7" Length

1

10

98-02667-00

Instruction Sheet

1

Procedure:

This repair is only a limp home repair. The coil should be replaced at the earliest convenience.

1.Locate the suspect leak using an electronic leak detector or liquid soap (looking for bubbles). If required, pressurize the unit with Nitrogen confirming the leak location.

When refrigerant escapes, oil that also escapes will typically result in a wet looking area and or heavy concentrations of dirt sticking to oil. These are usually good indicators of where to begin a check.

2.Remove the refrigerant and or any nitrogen used for leak checking from the system.

3.Using a utility knife, carefully section off the area around the leak (approximately 0.5 inches)

7_Service00080.jpg 

4.Using needle nose pliers, carefully remove the fins from the damaged area above and below the tube needing repair. The fins to be removed should be approximately 1/2” of fin material from each side of the repair location.

7_Service00081.jpg 

5.Remove dirt from the surface around the leak point with a soft bristle brush and water. Then wash off any residual oil with alcohol. Allow the surfaces to fully air dry.

MCHE_Repair_5.jpg 

6.Open up the leak point to at least 1 mm width by using the tip of a knife carefully. Remove all aluminum fragments. Shape the cut to make it easy for epoxy resin to enter the microchannel.

7_Service00082.jpg 

7.Clean the area around the leak point with alcohol.

8.Connect the gauge manifold to the HI and LO service valves and evacuate the unit using a vacuum pump.

9.Remove the coil coating from the repair area by brushing the upper and lower portion of the tube with the round tube brush.

10.Prepare the precut aluminum wrapper by folding it in half along the short (0.75”) length.

11.Using the emery cloth, remove any rough edges on the upper and lower portion of the tube and also scuff the inside of the aluminum wrapper.

12.Prepare the required amount of epoxy resin per instructions on the package and place on the cardboard and replace the cap onto the epoxy container after use.

MCHE_Repair_7.jpg 

When the temperature is below 10°C (50°F), warm up the affected area prior to the repair using a heat gun. Do not use an open flame.

13.Place mixed epoxy onto the leak point using wooden picks (while the unit is under vacuum).

MCHE_Repair_8.jpg 

14.The vacuum pump should be able to pull the epoxy through the cut area to form a shape that works as a plug.

MCHE_Repair_9.jpg 

15.Apply additional mixed epoxy with the application tool to the leak area and along the cleared fin section. Make sure that resin is sucked into the opening.

16.Place mixed epoxy on the aluminum wrapper and place the aluminum wrapper over the leak area.

7_Service00083.jpg 

17.Lightly “crimp” the aluminum wrapper with needle nose pliers.

MCHE_Repair_12.jpg 

18.Allow an additional one to two hours for epoxy to cure before leak checking the system.

Keep the unit under vacuum until the epoxy is fully cured.

19.Repeat the original leak check of the system in step 4 to verify that the leak has been plugged.

20.Evacuate and recharge the unit with refrigerant following procedures identified in the unit model Operations & Service Manual.

7.12Condenser Fan and Fan Motor

The condenser fan rotates counter-clockwise (viewed from front of unit). The fan pulls air through the condenser coil, and discharges the air horizontally through the front of the unit.

7.12.1Condenser Fan Motor Remove/Replace

Before removing the condenser fan grille, make sure power to the unit is OFF and the power plug is disconnected

1.Remove the condenser fan grille, retain all bolts and washers for reuse.

2.Remove the condenser fan by loosening the two set screws.

3.Disconnect the condenser fan motor wiring.

Take necessary steps (place plywood over coil or use sling on motor) to prevent motor from falling into condenser coil.

4.Note the number of shims on each side of the motor as the same configuration will be required to refit the new motor.

5.Remove the fan motor mounting hardware and remove motor.

6.Loosely mount the new motor using new lock nuts.

7.Connect the fan motor wiring to the new fan motor.

8.Replace the shims in the same configuration as they were removed.

9.Tighten the fan motor mounting bolts to properly secure the motor.

10.To make sure that the motor is aligned properly, slide the condenser fan onto the motor shaft reversed but do not secure.

11.Rotate the fan to make sure the fan blades do not contact the shroud:

a.If the fan motor is misaligned vertically, add or remove shims to align.

b.If the fan motor is not properly centered, loosen the mounting bolts, and adjust the motor position on the bracket, and then secure the motor.

12.Remove the condenser fan, and connect the fan motor wiring to the fan motor.

13.Place the condenser fan on the shaft facing the correct direction. Adjust the fan to the correct position, 37mm (1.5”) from the fan shroud, see Figure 7.7.

14.Use Loctite “H” on the fan set screws, and tighten.

15.Refit the left and right infill panels.

16.Refit the condenser fan grille, ensuring the grille is properly centered around condenser fan.

7.13Water-Cooled Condenser Cleaning

The water-cooled condenser is of the shell and coil type with water circulating through the cupro-nickel coil. The refrigerant vapor is admitted to the shell side and is condensed on the outer surface of the coil. Rust, scale and slime on the water-cooling surfaces inside of the coil interfere with the transfer of heat, reduce system capacity, cause higher head pressures and increase the load on the system.

By checking the leaving water temperature and the actual condensing temperature, it can be determined if the condenser coil is becoming dirty. A larger than normal difference between leaving condensing water temperature and actual condensing temperature, coupled with a small difference in temperature of entering and leaving condensing water, is an indication of a dirty condensing coil.

If the water-cooled condenser is dirty, it may be cleaned and de-scaled.

7.13.1Cleaning Supplies Needed

Oakite Aluminum Cleaner® 164, available as a powder in 20 kg (44 lb) pails and 205 kg (450 lb) drums.

Oakite Composition No. 32, available as a liquid in cases, each containing 3.785 liters (4 U.S. gallon) bottles and also in carboys of 52.6 kg (116 lbs) net.

Fresh clean water.

Acid proof pump and containers or bottles with rubber hose.

When Oakite Compound No. 32 is used for the first time, the local Oakite technical service representative should be called in for suggestions in planning the procedure. The representative will advise the reader on how to do the work with a minimum dismantling of equipment: how to estimate the time and amount of compound required; how to prepare the solution; how to control and conclude the de-scaling operation by rinsing and neutralizing equipment before putting it back into service. The representative’s knowledge of metals, types of scale, water conditions and de-scaling techniques will be highly useful.

7.13.2Cleaning Procedure Summary

1.Turn the unit off and disconnect main power.

2.Disconnect the water pressure switch tubing by loosening the two flare nuts. Install a 1/4 inch flare cap on the water-cooled condenser inlet tube (replaces tubing flare nut). De-scale tubing if necessary.

3.Drain water from the condenser tubing circuit.

4.Clean the water tubes with Oakite Aluminum Cleaner® 164 to remove mud and slime.

5.Flush.

6.De-scale the water tubes with Oakite No. 32 to remove scale.

7.Flush.

8.Neutralize.

9.Flush.

10.Put the unit back in service under normal load and check head (discharge) pressure.

7.13.3Cleaning Procedure Detailed

1.Drain and flush the water circuit of the condenser coil. If scale on the tube inner surfaces is accompanied by slime, a thorough cleaning is necessary before de-scaling process can be accomplished.

2.To remove slime or mud, use Aluminum Cleaner® 164. Mix 170 grams (6 ounces) per 3.785 liters (1 U.S. gallon) of water. Mix cleaner in one half the volume of water, while stirring, and then add remaining water. Warm this solution and circulate through the tubes until all slime and mud has been removed.

3.After cleaning, flush the tubes thoroughly with fresh clean water.

4.Prepare a 15% by volume solution for de-scaling, by diluting Oakite Compound No. 32 with water. This is accomplished by slowly adding 0.47 liter (1 U.S. pint) of the acid (Oakite No. 32) to 2.8 liters (3 U.S. quarts) of water.

Oakite No. 32 is an acid. Be sure that the acid is slowly added to the water. DO NOT PUT WATER INTO THE ACID - this will cause spattering and excessive heat.

Wear rubber gloves and wash the solution from the skin immediately if accidental contact occurs. Do not allow the solution to splash onto concrete.

5.Fill the tubes with this solution by filling from the bottom. See Figure 7.8.

Figure 7.8  Water-Cooled Condenser Cleaning - Forced Circulation

Fig_wcc-clean-forced-circ.jpg 

1)Pump

2)Priming Connection (Centrifugal pump
50 gpm at 35’ head)

3)Globe valves

4)Vent

5)Close vent pipe valve when pump is running

6)Condenser

7)Remove water regulating valve

8)Return

9)Fine mesh screen

10)Pump support

11)Tank

12)Suction

- - - - -

It is important to provide a vent at the top for escaping gas.

6.Allow the Oakite No. 32 solution to soak in the tube coils for several hours, periodically pump-circulating it with an acid-proof pump.

An alternate method may be used whereby a pail (see Figure 7.9) filled with the solution and attached to the coils by a hose can serve the same purpose by filling and draining. The solution must contact the scale at every point for thorough de-scaling. Air pockets in the solution should be avoided by regularly opening the vent to release gas. Keep flames away from the vent gases.

7.The time required for de-scaling will vary, depending upon the extent of the deposits. One way to determine when de-scaling has been completed is to titrate the solution periodically, using titrating equipment provided free by the Oakite technical service representative. As scale is being dissolved, titrate readings will indicate that the Oakite No. 32 solution is losing strength. When the reading remains constant for a reasonable time, this is an indication that scale has been dissolved.

Figure 7.9  Water-Cooled Condenser Cleaning - Gravity Circulation

Fig_wcc-clean-gravity-circ.jpg 

8.When de-scaling is complete, drain the solution and flush thoroughly with water.

If condenser cooling water is not being used as drinking water or is not re-circulated in a closed or tower system, neutralizing is not necessary.

9.Following the water flush, circulate a 56.7 gram (2 ounce) per 3.785 liter (1 U.S. gallon) solution of Oakite Aluminum Cleaner® 164 through the tubes to neutralize. Drain this solution.

10.Flush the tubes thoroughly with fresh water.

11.Put the unit back in service and operate under normal load. Check the head pressure. If normal, a thorough de-scaling has been achieved.

What You Can Do For Further Help:

Contact the Engineering and Service Department of OAKITE PRODUCTS CO., 675 Central Avenue, New Providence, NJ 07974 U.S.A. (or visit www.oakite.com)

7.14Filter Drier

On units equipped with a water-cooled condenser, if the sight glass appears to be flashing or bubbles are constantly moving through the sight glass, the unit may have a low refrigerant charge or the filter drier could be partially plugged.

7.14.1Checking the Filter Drier:

1.Test for a restricted or plugged filter drier by feeling the liquid line inlet and outlet connections. If the outlet side feels cooler than the inlet side, then the filter drier should be changed.

2.Check the moisture-liquid indicator. If it shows a high level of moisture, the filter drier should be replaced.

7.14.2Replacing the Filter Drier:

1.Pump down the unit (see Section 7.4). If the unit is not equipped with service values, evacuate the unit. Then replace filter drier.

2.Evacuate the low side in accordance with Section 7.6.

3.After unit is in operation, inspect for moisture in the system and check charge.

7.15Evaporator Coil

The evaporator section, including the evaporator coil, should be cleaned regularly. The preferred cleaning fluid is fresh water or steam. Another recommended cleaner is Oakite 202 or similar, following manufacturer’s instructions.

The two drain pan hoses are routed behind the condenser fan motor and compressor. The drain pan line(s) must be open to ensure adequate drainage.

7.15.1Evaporator Coil Replacement

1.Pump unit down. See Section 7.4.

Always turn OFF the unit circuit breakers (CB-1 & CB-2) and disconnect main power supply before working on moving parts.

2.With power OFF and power plug removed, remove the screws securing the panel covering the evaporator section (upper panel).

3.Disconnect the defrost heater wiring.

4.Remove the mounting hardware from the coil.

5.Unsolder the two coil connections, one at the distributor and the other at the coil header.

6.Disconnect the defrost temperature sensor (see Section 7.29) from the coil.

7.Remove middle coil support.

8.After defective coil is removed from unit, remove defrost heaters and install on replacement coil.

9.Install coil assembly by reversing above steps.

10.Leak check connections. Evacuate and add refrigerant charge.

7.16Evaporator Heaters

Figure 7.10  Heater Arrangement

T-362_99.jpg 

1)Heater Element

2)Bracket

3)Retainer

- - - - -

The heaters are wired directly back to the contactor and if a heater failure occurs during a trip, the heater set containing that heater may be disconnected at the contactor.

The next pre-trip (P1) will detect that a heater set has been disconnected and indicate that the failed heater should be replaced.

7.16.1Megger Testing the Heaters

Always turn OFF the unit circuit breakers, disconnect the main power supply, and perform Lock Out / Tag Out before working on moving parts.

All of the checks performed during this procedure should be carried out using a 500v Meg-ohm tester.

1.Connect the ground wire from the insulation tester to a fixed ground point, preferably the ground plate in the control box.

2.At the load side of the heater contactor, check the insulation resistance to ground.

If readings are > 2 Mohm, then the heaters are operating properly and no action is needed.

If readings are < 1 Mohm, then the faulty heater needs to be identified. Proceed to step 3 for units with a heater access panel or step 4 for units without a heater access panel.

If readings are between 1 and 2 Mohm, then the heaters need to be re-tested with the following steps:

a.Reconnect the unit to power and power the unit on.

b.Set the unit set point to a minimum of 10°C higher than the current temperature of the container. Allow the unit to go into heat mode, reach the temperature set point and maintain for 10-15 minutes.

c.Power the unit off. Allow the unit to cool to ambient temperature.

d.Connect the ground wire from the insulation tester to a fixed ground point, preferably the ground plate in the control box.

e.At the load side of the heater contactor, check the insulation resistance to ground.

If readings are > 1 Mohm, then the heaters are operating properly and no action is needed.

If readings are < 1 Mohm, then the faulty heater needs to be identified. Proceed to step 3 for units with a heater access panel or step 4 for units without a heater access panel.

3.Identify the faulty heater(s) for units with a heater access panel:

a.Open the access panel and cut out all wire splices to isolate all heaters inside of the unit.

b.Repeat the Megger test on each individual heater. Connect the ground clip to the outer metal sheath of the heater and the test clip to one of the wires from the same heater.

c.Replace any heater where the readings are < 1 Mohm.

4.Identify the faulty heater(s) for units without a heater access panel:

a.Remove all six connections from the Heater (HR) contactor load side, which splits the six heaters into three separate pairs.

b.Identify the following three wires: DHTL, DHML, DHBL. There is one from each load connection.

c.Repeat the Megger test on each pair of heaters to identify the faulty heater pair. Connect the ground clip from the insulation tester to a fixed ground point on the unit, preferably the ground plate in the control box. Connect the test clip to one of the wires stated above.

d.Test all three wires and replace any heater pair that has readings < 1 Mohm.

5.If the unit is loaded, and the heater can not be immediately replaced, perform the following steps:

a.Identify the wire at the opposite end of the faulty heater pair: DHTL - DHTR, DHML - DHMR, DHBL - DHBR.

b.Isolate the two wires.

c.Reconnect the remaining good wiring pairs to their original connections.

d.The unit will fail the PTI test P1-0 at the next pre-trip inspection. Repair action can be taken at that time.

6.If the unit is empty, replace the faulty heater:

Always turn OFF the unit circuit breakers, disconnect the main power supply, and perform Lock Out / Tag Out before working on moving parts.

a.With the heater pair identified, remove the upper back panel inside the container.

b.Identify the center point connection for the heater pair (black wiring from heaters) either against the unit back wall or in the wiring loom.

c.Cut the splice to separate the two heaters.

d.Carry out a Megger check on the two heaters in the same way as for units with heater panel. Replace any heater where the Megger readings are < 1 Mohms.

If all heaters are above the acceptable limit with the wiring disconnected, then this indicates that the fault was in one or more of the wire splices that were removed.

e.Remove the hold-down clamp securing the heater(s) to the coil.

f.Verify that the heaters are not hot before handling them.

g.Lift the bent end of the heater (with the opposite end down and away from the coil). Move the heater to the side enough to clear the heater end support and remove.

h.To install heater, reverse steps.

i.Reconnect all wiring using new splices and heat shrink where needed. The heat shrink MUST have a 'melt-able' liner to ensure that the connections are properly sealed when shrunk. This can be seen as a 'Ring' of melt liner pushed from under the heat shrink at each end of the shrink tube.

Failure to use melt liner heat shrink allows moisture to 'wick' up under the heat shrink and cause a leakage path.

 

7.17Evaporator Fan and Motor Assembly

The evaporator fans circulate air throughout the container by pulling air in the top of the unit. The air is forced through the evaporator coil where it is either heated or cooled and then discharged out the bottom of the refrigeration unit into the container. The fan motor bearings are factory lubricated and do not require additional grease.

7.17.1Replacing the Evaporator Fan Assembly

Always turn OFF the unit circuit breakers (CB-1 & CB-2) and disconnect main power supply before working on moving parts.

1.Remove the access panel by removing the mounting bolts and TIR locking device. Reach inside of the unit and remove the Ty-Rap securing the wire harness loop. Disconnect the connector by twisting to unlock and pulling to separate.

2.Loosen four 1/4-20 clamp bolts that are located on the underside of the fan deck at the sides of the fan assembly. Slide the loosened clamps back from the fan assembly.

3.Slide the fan assembly out from the unit and place on a sturdy work surface.

7.17.2Disassemble the Evaporator Fan Assembly

1.Attach a spanner wrench to the two 1/4-20 holes located in the fan hub. Loosen the 5/8-18 shaft nut by holding the spanner wrench stationary and turning the 5/8-18 nut counter-clockwise (see Figure 7.11).

2.Remove the spanner wrench. Use a universal wheel puller and remove the fan from the shaft. Remove the washers and key.

3.Remove the four 1/4-20 x 3/4 long bolts that are located under the fan that support the motor and stator housing. Remove the motor and plastic spacer.

7.17.3Assemble the Evaporator Fan Assembly

1.Assemble the motor and plastic spacer onto the stator.

When removing the black nylon evaporator fan blade, care must be taken to assure that the blade is not damaged. In the past, it was a common practice to insert a screwdriver between the fan blades to keep it from turning. This practice can no longer be used, as the blade is made up of a material that will be damaged. It is recommended that an impact wrench be used when removing the blade. Do not use the impact wrench when reinstalling, as galling of the stainless steel shaft can occur.

2.Apply Loctite to the 1/4-20 x 3/4 long bolts and torque to 0.81 mkg (70 inch-pounds).

3.Place one 5/8 flat washer on the shoulder of the fan motor shaft. Insert the key in the keyway and lubricate the fan motor shaft and threads with a graphite-oil solution (such as Never-seez).

4.Install the fan onto the motor shaft. Place one 5/8 flat washer with a 5/8-18 locknut onto the motor shaft and torque to 40 foot-pounds.

Figure 7.11  Evaporator Fan Assembly

T-362_100.jpg 

1)Fan

2)Washer

3)Nut

4)Screws / Washers

5)Protector

6)Motor

7)Stator

- - - - -

5.Install the evaporator fan assembly in reverse order of removal. Torque the four 1/4-20 clamp bolts to 0.81 mkg (70 inch-pounds). Connect the wiring connector.

6.Replace the access panel making sure that the panel does not leak. Make sure that the TIR locking device is lockwired. Torque the access panel hardware to 69 kg-cm (60 in/lbs.) using a crossing pattern as shown in Figure 7.12. Repeat the pattern twice for a proper seal.

Figure 7.12  Access Panel Torque Pattern

Torque-sequence.jpg[

7.18Evaporator Section Cleaning

Containers and Container units that are exposed to certain fumigants may develop visible surface corrosion. This corrosion will show up as a white powder found on the inside of the container and on the reefer unit evaporator stator and fan deck.

Analysis by Carrier Transicold environmental specialists have identified the white powder as consisting predominantly of aluminum oxide. Aluminum oxide is a coarse crystalline deposit most likely the result of surface corrosion on the aluminum parts within the container. If left untreated over time, it may build up in thickness and eventually flake as a light-weight white powder.

The surface corrosion of aluminum is brought about by exposure to chemicals such as sulfur dioxide and possibly other fumigants that are commonly used for fumigation and protection of some perishable cargo such as grapes, for example. Fumigation is the process by which a chemical is released into an enclosed area to eliminate infestations of insects, termites, rodents, weeds and soil-born disease.

Typically any aluminum oxide that becomes detached from evaporator fan stators will be blown into the wet evaporator coil where it will be caught and then flushed out of the unit during routine defrost cycles.

However, it is still highly recommended that after carrying cargo subject to fumigation procedures, that the inside of the unit be thoroughly cleansed prior to reuse.

Carrier Transicold has identified a fully biodegradable and environmentally safe alkaline cleaning agent (Tri-Pow’r® HD) for the unit. This will assist in helping to remove the corrosive fumigation chemicals and dislodging of the corrosive elements.

This cleaner is available from the Carrier Transicold Performance Parts Group (PPG) and can be ordered through any of the PPG locations; Part Number NU4371-88.

As a general safety precaution, before using this product, see and retain the Material Safety Data (MSDS) sheet.

7.18.1Cleaning Preparation

Always wear goggles, gloves and work boots.

Avoid contact with skin and clothing, and avoid breathing mists.

When mixing, add water to the sprayer first, then the cleaner.

ALWAYS provide for proper ventilation when cleaning indoor evaporator coils (rear doors must be open).

Be aware of surroundings - food, plants, etc., and the potential for human exposure.

Always read directions and follow recommended dilution ratios. More is not always better. Using non-diluted cleaner is not recommended.

7.18.2Cleaning Procedure

1.Remove the upper evaporator access panel inside of the unit.

2.Spray the surface with water before applying the cleaning solution. This helps the cleaner work better.

3.Liberally apply the prepared cleaner solution (5 parts water and 1 part cleaner).

4.Allow the cleaner to soak in for five to seven minutes.

5.Assess area for rinsing. Follow all local regulations regarding disposal of waste water.

6.Thoroughly rinse the cleaner and surrounding area, floor, etc. When rinsing where heavy foaming solution is present, it is very important to take the time to thoroughly rinse the equipment and surroundings.

7.Always rinse the empty coil cleaner bottle, cap tightly and dispose of properly.

7.19Electronic Expansion Valve (EEV)

The electronic expansion valve (EEV) is an automatic device which maintains required superheat of the refrigerant gas leaving the evaporator. The valve functions are: (a) automatic response of refrigerant flow to match the evaporator load and (b) prevention of liquid refrigerant entering the compressor. Unless the valve is defective, it seldom requires any maintenance.

Figure 7.13  Electronic Expansion Valve (EEV)

T-362_101.jpg 

1)Electronic Expansion Valve

2)Coil Boot   

3)Coil

4)Strainer

- - - - -

7.19.1Removing an EEV

Always turn OFF the unit circuit breakers (CB-1 & CB-2) and disconnect main power supply before working on moving parts.

1.Pump down the compressor (see Section 7.4) and frontseat both suction and discharge valves.

2.Turn unit power off and remove power from the unit.

3.Remove the coil.

4.Remove the valve. The preferred method of removing the valve is to cut the connection between the brazed section and the valve, using a small tube cutter. Remove the valve. Alternatively, use a wet rag to keep the valve cool. Heat inlet and outlet connections to valve body and remove valve.

5.Clean the valve stem with mild cleaner, if necessary.

7.19.2Installing an EEV

1.Install the valve and a new strainer with the cone of the strainer / screen pointing into the liquid line at the inlet to the valve.

2.During installation, make sure the EEV coil is snapped down fully, and the coil retention tab is properly seated in one of the valve body dimples. Also, ensure that coil boot is properly fitted over valve body. See Figure 7.13.

3.Replace the filter drier.

4.Evacuate to 500 microns by placing the vacuum pump on the liquid line and suction service valve.

5.Open the liquid line service valve and check refrigerant level.

6.Check superheat. See Section 3.2.

7.Check unit operation by running a pre-trip. See Section 4.6.

7.20Humidity Sensor (HS)

The humidity sensor is an optional component that allows setting of a humidity set point in the controller. In dehumidification mode, the controller will operate to reduce internal container moisture level. When the sensor is disabled, it will be added as an event in the DataLINE report.

7.20.1Disabling the Humidity Sensor

If a humidity sensor fails and is not going to be replaced, the sensor operation can be disabled at the unit display. Once disabled, any related alarms will be masked and PTI tests will be skipped.

1.Press the CODE SELECT key.

2.Use the Arrow keys until Cd33 is displayed and then press the ENTER key.

3.Use the Arrow keys to select “diSbl” and press ENTER. This sets the configuration variable CnF04 to OFF.

4.It is recommended to unplug the humidity sensor from the unit (capping off the sensor plug). This is essential as the humidity sensor shares the power source with other components.

7.20.2Checking the Operation of the Humidity Sensor (HS)

This procedure is to be performed in an effort to ease the troubleshooting of the humidity sensor. When performing this procedure and while working on the unit, always follow the proper lockout/tagout procedures.

Items Required:

One 7/16” socket wrench or nut driver.

One 1/4” socket wrench or nut driver.

One clean, clear water bottle with a minimum 6 cm (2.5 in) opening and capacity to hold 500 ml (16.9 oz).

100 ml (3.4 oz) of fresh water - distilled if available.

50 gm of Salt (NaCl).

Procedure:

1.Remove the left Upper Fresh Air Makeup Vent panel.

2.Remove the humidity sensor from the mounting hardware and bring to the front of the access panel.

3.Disconnect the humidity sensor from the harness.

4.Drill a 3 cm (1.25 in) hole in the cap of a bottle.

5.Pour approximately 100 ml (3.4 oz) of water into the empty clean bottle.

6.Add salt to the water until it is present at the bottom of the bottle.

7.Cap the bottle and tape over the drilled hole.

8.Shake the bottle until the salt dissolves and water is saturated.

To ensure saturation, add additional salt until it settles at the bottom without dissolving while shaking.

9.Remove the cap and insert the humidity sensor into the bottle through the bottle opening and pull the connector back through the drilled hole in the cap. Then, secure the cap and seal the wire going through the cap.

Make sure that the sensor is not at all in contact with the salt water.

humidity-sensor.jpg 

10.Allow the saturated salt mixture to settle for approximately ten minutes.

11.Reconnect the humidity sensor to the harness and power the reefer unit on.

12.Press the CODE SELECT key on the keypad.

13.Use the Arrow keys until “Cd17” is displayed then press the ENTER key.

Display_Cd17.jpg 

14.This displays the humidity sensor reading. Verify the reading is between 60% and 85% relative humidity.

15.If the humidity sensor display is outside of this range, reconfirm the salt mixture and retest. If not in range, replace the sensor at the next opportunity.

16.Wipe clean and reinstall the humidity sensor and access panel. Torque the access panel hardware to 69 kg-cm (60 in.-lbs.) using a crossing pattern similar to the numbering below.

Torque-sequence00098.jpg 

17.If the panel gasket is damaged and needs to be replaced, use the following part numbers:

42-00296-01: Standard Panel Gasket

42-00823-00: XtendFRESH Panel Gasket

7.21Economizer Solenoid Valve (ESV)

Figure 7.14  Coil View of Economizer Solenoid Valve (ESV)

T-362_102a.jpg 

1)Slotted Screw

2)Top Coil (small) O-ring

3)Solenoid Coil, Enclosing Tube and Body

4)Bottom Coil (large) O-ring

5)Brass Spacer

- - - - -

7.21.1Removing a Solenoid Valve Coil

Always turn OFF the unit circuit breakers (CB-1 & CB-2) and disconnect main power supply before working on moving parts.

1.Turn unit power off and remove power from the unit. Disconnect leads.

2.Remove the top screw and o-ring. Remove the coil and save mounting hardware, seals and spacer for reuse (see Figure 7.14). See Valve Coil Installation Procedure.

7.21.2Removing the Solenoid Valve

1.Pump down the compressor (see Section 7.4) and frontseat both suction and discharge valves.

2.Remove the valve. The preferred method of removing the solenoid valve is to cut the connection between the brazed section and the valve, using a small tube cutter. Remove valve.
Alternatively, heat inlet and outlet connections to valve body and remove valve.

3.Clean the valve stem with mild cleaner, if necessary.

7.21.3Installing the Solenoid Valve

1.Fit the new solenoid valve into position and braze. Use a wet rag to keep valve cool whenever brazing.

7.21.4Installing the Solenoid Valve Coil

1.Install the brass spacer on the valve stem.

2.Lubricate both o-rings with silicone provided in the kit.

3.Install bottom coil o-ring on the valve stem.

4.Install the solenoid coil on the valve stem.

5.Place the top coil o-ring on the coil mounting screw and secure the coil to the valve using a torque wrench. Torque the screw to 25 in-lbs.

6.Connect coil wires using butt-splices and heat shrink tubing.

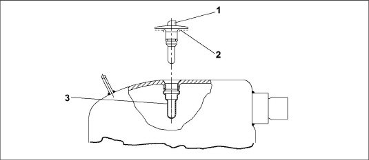
7.22Economizer Expansion Valve (EXV)

The economizer expansion valve (See Figure 7.15) is an automatic device that maintains constant superheat of the refrigerant gas leaving at the point of bulb attachment, regardless of suction pressure.

Unless the valve is defective, it seldom requires maintenance other than periodic inspection to ensure that the thermal bulb is tightly secured to the suction line and wrapped with insulating compound.

The economizer expansion valve is a hermetic valve, it does not have adjustable superheat.

Figure 7.15  Economizer Expansion Valve

T-362_102b.jpg 

7.22.1Removing the Economizer Expansion Valve

1.Pump down the compressor (see Section 7.4) and frontseat both suction and discharge valves. If unit is not equipped with service valves, evacuate unit. See Section 7.6.1.

2.Turn unit power off and remove power from the unit.

3.Remove cushion clamps located on the inlet and outlet lines.

4.Remove insulation (Presstite) from the expansion valve bulb.

5.Unstrap the bulb, located on the economizer line.

6.Remove the valve. The preferred method of removing the valve is to cut the connection between the brazed section and the valve, using a small tube cutter. Remove valve. Alternatively, use a wet rag to keep valve cool. Heat inlet and outlet connections to valve body and remove valve.

7.Clean the valve stem with a mild cleaner, if necessary.

7.22.2Installing the Economizer Expansion Valve

1.The economizer expansion valve should be wrapped in a soaked cloth for brazing.

2.Braze the inlet connection to the inlet line.

3.Braze the outlet connection to the outlet line.

4.Reinstall the cushion clamps on the inlet and outlet lines.

5.Replace the filter drier. See Section 7.14.

6.Evacuate to 500 microns by placing vacuum pump on liquid line and suction service valve.

7.Check economizer expansion valve superheat. See Section 3.2.

7.23Troubleshooting P6-7 (DUV)

A failed digital unloader valve (DUV), which is normally closed, or an internal seal failure of the compressor can result in the unit running continually in the fully loaded mode causing it to undershoot its setpoint temperature.

Both of these conditions can be evaluated by running pre-trip test P6-7. When running P6-7, the controller is looking for the differences in pressure and current draw between loaded mode and unloaded mode to make a judgment. If there are no differences, then it will show fail.

To confirm what caused the test to fail, perform the following additional test.

1.Connect the manifold gauge set to discharge service valve (DSV) and suction service valve (SSV).

2.Front seat the SSV and pump down the compressor.

3.Front seat the DSV valve to isolate the compressor.

4.Disconnect the DUV from the top of compressor and install a 1/2 to 1/4 flared adapter / O-ring (P/N 40-50076-00sv).

Figure 7.16  Adapter and O-Ring

T-362_103.jpg 

5.Using refrigerant (R-134a or R-513A as specified for the unit model number) or Nitrogen, pressurize the line to 50 psi (3.5 bar) at the adapter connection and close supply at the tank. Pressure should hold as the valve is normally closed. If pressure drops, check for leaks at the installed fitting (part number 40-50076-00sv); repair and retest. If pressure increases at the suction service valve and decreases at the pressure supply; the valve is leaking and should be replaced. If no leak proceed to step 6.

6.Energize the DUV by removing the coil and placing a magnet on the valve stem opening the valve. If the pressure does not increase at the SSV and decrease at the supply, replace the valve as it did not open.

If a magnet is not available, a jumper procedure can be used as follows:

1.Remove all four controller fuses (F1, F2, F3a, F3b).

2.Remove the KA6 wire from the KA controller connector on the front of the controller.

3.Disconnect the X1 wire from the 24VAC side of the transformer (black wire) and locate it away from the transformer.

4.Jumper between the black transformer wires to the KA6 wire removed from the connector.

5.Connect power to the unit and turn the circuit breaker on. The DUV coil is now energized.

6.Pressure should drop.

7.Power the circuit breaker off, reconnect wires and reinstall fuses.

8.If the valve opens and closes properly, the failure mode is with the compressor and it should be changed at the earliest opportunity.

7.24Digital Unloader Valve (DUV)

7.24.1Removing the DUV

1.Pump down the compressor (see Section 7.4) and frontseat both suction and discharge valves. In the event the DUV is stuck open and compressor cannot pump down, remove charge.

The scroll compressor achieves low suction pressure very quickly. Do not use the compressor to evacuate the system below 0 psig. Never operate the compressor with the suction or discharge service valves closed (frontseated). Internal damage will result from operating the compressor in a deep vacuum.

2.Turn unit power off and remove power from the unit.

3.Loosen the bolt on top of the DUV and remove the coil assembly.

There is a small spacer tube between the top of the valve and the 12 VDC coil that needs to be reinstalled into the solenoid valve coil. When removing the coil, it may fall out when lifted from the valve body. Take care that the spacer is not lost; the valve will not function correctly without it.

4.Remove the clamps holding the DUV to the discharge line.

5.Loosen the nuts attaching the DUV to the top of the compressor.

6.Remove the valve. The preferred method of removing the solenoid valve is to cut the connection between the brazed section and the valve, using a small tube cutter. Remove valve. (See Figure 7.17).
Alternatively, use a wet rag to keep valve cool. Heat outlet connection to valve body and remove valve.

Figure 7.17  View of Digital Unloader Valve (DUV) Assembly

T-362_104.jpg 

1)Screen Valve Strainer

2)Tube

3)Solenoid Valve Body

4)Hex Nut, 1/2 OD

5)Sleeve

6)O-ring (hidden)

- - - - -

7.Examine the compressor and service valves. Ensure that the o-ring is not stuck in the gland of the valve.

8.Discard the o-ring on the o-ring face seal connection.

7.24.2Installing the DUV

1.Lubricate the gland shoulder area and o-ring with refrigerant oil.

2.Fit the new valve in position and hand-tighten the o-ring nut.

3.Use a wet rag to keep the valve cool while brazing. Braze the DUV to service valve connection.

4.Reinstall and tighten the brackets that secure the valve body to the discharge line.

5.Torque the o-ring face seal connections to 18 to 20 ft-lbs.

6.Install the coil onto the valve body and tighten the attachment bolt.

Confirm that the small spacer tube is inserted into the coil prior to attaching it to the valve body. The valve will not function correctly without it.

7.Leak check and evacuate the low side of unit as applicable. See Section 7.6.1.

8.Open the service valves.

7.25Valve Override Controls

Controller function code Cd41 is a configurable code that allows timed operation of the automatic valves for troubleshooting. Test sequences are provided in Table 7–1. Capacity mode (CAP) allows alignment of the economizer solenoid valve in the standard and economized operating configurations. DUV Capacity Modulation% Setting (PCnt) and Electronic Expansion Valve (EEV) allows opening of the digital unloader valve and electronic expansion valve, respectively, to various percentages. If the unit is equipped with an LIV, the Liquid Valve Setting allows the LIV to be automatically controlled, or manually opened and closed.

The Override Timer (tIM) selection is also provided to enter a time period of up to five minutes, during which the override(s) are active. If the timer is active, valve override selections will take place immediately. If the timer is not active, changes will not take place for a few seconds after the timer is started. When the timer times out, the override function is automatically terminated and the valves return to normal machinery control. To operate the override:

1.Press the CODE SELECT key then press an Arrow key until Cd41 is displayed in the left window. The right window will display a controller communications code.

2.Press the ENTER key. The left display will show a test name alternating with the test setting or time remaining. Use an Arrow key to scroll to the desired test. Press the ENTER key, SELCt will appear in the left display.

3.Use an Arrow key to scroll to the desired setting, and then press the ENTER key. Selections available for each of the tests are provided in Table 7–1.

4.If the timer is not operating, follow the above procedure to display the timer. Use an Arrow key to scroll to the desired time interval and press ENTER to start the timer.

5.The above described sequence may be repeated during the timer cycle to change to another override.

Table 7–1  Valve Override Control Displays

Left Display

Controller Communication Codes (Right Display)

Setting Codes (Right Display)

Cd 41/SELCt

tIM

(Override Timer)

0 00 (0 minutes/0 Seconds)

In 30 second increments to

5 00 (5 minutes/ 0 seconds)

PCnt

(% Setting - DUV Capacity Modulation)

AUtO

(Normal Machinery Control)

0

3

6

10

25

50

100

EEV

(% Setting - Electronic Expansion Valve)

AUtO

(Normal Machinery Control)

CLOSE (Closed)

0

3

6

10

25

50

100

CAP

(Capacity Mode)

AUtO (Normal Control)

Std

UnLd

(Economizer = Closed)

ECOn (Economizer = Open)

7.26Autotransformer

If the unit does not start, check the following:

1.Verify the 460 VAC (yellow) power cable is plugged into the receptacle (see Figure 7.18) and locked in place.

2.Verify that circuit breakers CB-1 and CB-2 are in the “ON” position. If the circuit breakers do not hold in, check voltage supply.

3.Using a voltmeter, and with the primary supply circuit ON, check the primary (input) voltage (460 VAC). Next, check the secondary (output) voltage (230 VAC). The transformer is defective if output voltage is not available.

Figure 7.18  Autotransformer

T-362_106.jpg 

1)Circuit Breaker (CB-2) 230-Volt

2)460 VAC Power Receptacle

3)Dual Voltage Modular Autotransformer

- - - - -

7.27Controller Service

Do not remove wire harnesses from circuit boards unless you are grounded to the unit frame with a static safe wrist strap or equivalent static drain device.

Remove the controller module and unplug all connectors before performing any arc welding on any part of the container.

Do not attempt to use an ML2i PC card in an ML3 equipped unit. The PC cards are physically different and will result in damage to the controller.

Do not attempt to service the controller modules. Breaking the seal will void the warranty.

7.27.1Controller Module Handling

The guidelines and cautions provided herein should be followed when handling the modules. These precautions and procedures should be implemented when replacing a module, when doing any arc welding on the unit, or when service to the refrigeration unit requires handling and removal of a module.

1.Obtain a grounding wrist strap (Carrier Transicold P/N 07-00304-00) and a static dissipation mat (Carrier Transicold P/N 07-00277-00). The wrist strap, when properly grounded, will dissipate any potential static buildup on the body. The dissipation mat will provide a static-free work surface on which to place and/or service the modules.

2.Disconnect and secure power to the unit.

3.Place strap on wrist and attach the ground end to any exposed unpainted metal area on the refrigeration unit frame (bolts, screws, etc.).

4.Carefully remove the module. Do not touch any of the electrical connections if possible. Place the module on the static mat.

The strap should be worn during any service work on a module, even when it is placed on the mat.

7.27.2Controller Troubleshooting

A group of test points (TP, see Figure 7.19) are provided on the controller for troubleshooting electrical circuits (see schematic diagram sections). A description of the test points is provided in Table 7–2.

Table 7–2  Test Point Descriptions

Test Point

Description

TP1

Not used in this application.

TP2

Check if the high pressure switch (HPS) is open or closed.

TP3

Check if the water pressure switch (WP) contact is open or closed.

TP4

Check if the internal protector for the condenser fan motor (IP-CM) is open or closed.

TP5

Check if the internal protectors for the evaporator fan motors (IP-EM1 or IP-EM2) are open or closed.

TP6

(if equipped) - Check if the controller liquid injection valve relay (TQ) is open or closed.

TP7

Check if the controller economizer solenoid valve relay (TS) is open or closed.

TP8

Not used in this application.

TP9

Chassis (unit frame) ground connection.

TP10

Check if the heat termination thermostat (HTT) contact is open or closed.

Use a digital voltmeter to measure AC voltage between TP’s and ground (TP9), except for TP8.

Figure 7.19  Controller

fig10_mv.jpg 

1)Micro-Link 3 Controller / DataCORDER Module

2)Mounting Screw

3)Connectors

4)Test Points

5)Fuses

6)Control Circuit Power Connection

7)Software Programming Port

8)Battery Pack (Standard Location)

- - - - -

7.27.3Removing and Installing a Controller

Removal:

1.Disconnect all front wire harness connectors and move wiring out of the way.

2.The lower controller mounting is slotted. Loosen the top mounting screw (see Figure 7.19) and lift up and out.

3.Disconnect the back connectors and remove the module.

4.When removing the replacement module from its packaging, note how it is packaged. When returning the old module for service, place it in the packaging in the same manner as the replacement. The packaging has been designed to protect the module from both physical and electrostatic discharge damage during storage and transit.

Installation:

1.Install the module by reversing the removal steps.

2.Torque values for mounting screws (item 2, see Figure 7.19) are 0.23 mkg (20 inch-pounds). Torque value for the connectors is 0.12 mkg (10 inch-pounds).

7.27.4Battery Replacement

Standard Battery Location (Standard Cells):

1.Turn unit power Off and disconnect the power supply.

2.Slide the bracket out and remove the old batteries. (See Figure 7.19, Item 8.)

3.Install new batteries and slide the bracket into the control box slot.

Use care when cutting wire ties to avoid nicking or cutting wires.

Standard Battery Location (Rechargeable Cells):

1.Turn unit power Off and disconnect the power supply.

2.Disconnect the battery wire connector from the control box.

3.Slide out and remove the old battery and bracket. (See Figure 7.19, Item 8.)

4.Slide the new battery pack and bracket into the control box slot.

5.Reconnect the battery wire connector to the control box and replace wire ties that were removed.

Secure Battery Option (Rechargeable Cells Only):

1.Turn unit power Off and disconnect the power supply.

2.Open the control box door and remove both the high voltage shield and clear plastic rain shield (if installed).

3.Disconnect the battery wires from the “KA” plug positions 14, 13, 11.

4.Using Driver Bit, Carrier Transicold part number 07-00418-00, remove the four screws securing the display module to the control box. Disconnect the ribbon cable and set the display module aside.

The battery wires must face toward the right.

5.Remove the old battery from the bracket and clean bracket surface. Remove the protective backing from the new battery and assemble to the bracket. Secure battery by inserting the wire tie from the back of the bracket around the battery, and back through the bracket.

6.Reconnect the ribbon cable to display and re-install the display.

7.Route the battery wires from the battery along the display harness and connect the red battery wire and one end of the red jumper to “KA14,” the other end of the red jumper wire to “KA11,” and the black wire to “KA13.”

8.Replace wire ties that were removed.

7.28Controller Programming Procedures

This section contains programming procedures for data downloads, software loading, and configuration changes. These are performed by using the unit display and the controller’s programming port (See Figure 7.19).

Videos are available that explain different programming procedures and methods for using the programming port. The videos can be viewed from:

Carrier Transicold’s Container Refrigeration YouTube channel.

Carrier Transicold’s ContainerLINK™ app that is available for Apple or Android devices. In ContainerLINK, from the main menu navigate to Resources > Videos.

The following hardware solutions can be utilized with the programming port:

MUA Adapter with USB drive (Part # 07-00571-00). Click for instructions

MST Service Tool with USB drive (Part # 07-00-00572-00).    Click for instructions

USB Adapter and USB drive**. Click for instructions

PCMCIA sRAM Card**

** Device still supported but no longer available for purchase.

The unit must be OFF whenever a programming device is inserted or removed from the controller programming port.

7.28.1Downloading Unit Data

1.Turn unit power off (“0”) at the Start-Stop switch (ST).

2.Inspect the pins on the controller’s programming slot for damage.

3.Insert the programming device (with proper software loaded) into the slot. See Figure 7.19

4.Turn unit power on (“I”) at the Start-Stop switch (ST).

5.The display will show “Usb LOAd”. Use the Arrow keys to select "dnLd dAtA" and press the ENTER key.

For PCMCIA sRAM cards, the display will open directly to the “dnLd dAtA” menu.

6.Use the Arrow keys to scroll through the download options (triP, 30 day, 60 day, 90 day, All). The amount of available space on the USB is also displayed in this menu. Press ENTER to confirm the download choice.

7.The display will flash "dnLd" while downloading and then "dnLd donE" when complete.

8.Press the CODE SELECT key to see free space remaining.

9.Turn unit power off (“0”) at the Start-Stop switch (ST).

10.Remove the programming device from the controller. The download files can now be transferred to PC for data evaluation with DataLINE.

11.Turn unit power on (“I”) at the Start-Stop switch (ST).

7.28.2Loading Operational Software

PrimeLINE units must be loaded with software version 53XX. See the label in the control box door for factory installed software version.

1.Turn unit power off (“0”) at the Start-Stop switch (ST).

2.Inspect the pins on the controller’s programming slot for damage.

3.Insert the programming device (with proper software loaded) into the slot. See Figure 7.19.

4.Turn unit power on (“I”) at the Start-Stop switch (ST).

5.The display will show “Usb LOAd”. Use the arrow keys to select "LOAd SoFt" and press the ENTER key. The display will show "SEt UP".

For PCMCIA sRAM cards, the display will show "SEt UP" when unit turns on.

6.Use the Arrow keys until the display shows “LOAd 53XX” and press the ENTER key.

7.The display will alternate between the messages “PrESS EntR” and “rEV 53XX”. Press ENTER.

8.The display will flash “Pro SoFt” as the software is uploading. It may take up to one minute for this to complete. When complete, the display will show “Pro donE”.

If a problem occurs while loading software, the display will blink the message “Pro FAIL” or “bad 12V.” Turn unit power off “0” at the Start-Stop switch and remove the card.

9.Turn unit power off (“0”) at the Start-Stop switch (ST).

10.Remove the programming device from the controller.

11.Turn unit power on (“I”) at the Start-Stop switch (ST).

12.On power up, the controller LED flashes quickly and the display will remain blank as the controller loads the new software. This takes about 15 seconds. When complete, the controller will reset and power up normally.

13.Bring up function code Cd18 to confirm that the correct software revision is loaded.

7.28.3Changing Controller Configuration

1.Turn unit power off (“0”) at the Start-Stop switch (ST).

2.Inspect the pins on the controller’s programming slot for damage.

3.Insert the programming device (with proper software loaded) into the slot. See Figure 7.19.

4.Turn unit power on (“I”) at the Start-Stop switch (ST).

5.The display will show “Usb LOAd”. Use the Arrow keys to select "LOAd SoFt" and press the ENTER key. The display will show "SEt UP".

For PCMCIA sRAM cards, the display will show "SEt UP" when unit turns on.

6.Press the ENTER key on the keypad.

7.The display will show the message “ruN ConFG”. Press the ENTER key.

If the display has blinking message “bAd CArd”, then the card is defective. Turn unit power off “0” at the Start-Stop switch (ST) and remove the card.

8.The display module will go blank briefly and then display “5XX XXX”, based on the operational software installed.

9.Use the Arrow keys to display the desired model number and then press ENTER.

10.When software loading has successfully completed, the display will show the message “COnFG donE.”

If the display has blinking message “Pro FAIL” or “bad 12V”, then a problem has occurred while loading the software. Turn unit power off “0” at the Start-Stop switch and remove the card.

11.Turn unit power off (“0”) at the Start-Stop switch (ST).

12.Remove the programming device from the controller.

13.Turn unit power on (“I”) at the Start-Stop switch (ST).

14.To confirm the correct model configuration was loaded, use the keypad to bring up function code Cd20. The model displayed should match the last five digits of the model number listed on the unit nameplate.

7.28.4Setting the Date and Time

1.Turn unit power off (“0”) at the Start-Stop switch (ST).

2.Inspect the pins on the controller’s programming slot for damage.

3.Insert the programming device (with proper software loaded) into the slot. See Figure 7.19.

4.Turn unit power on (“I”) at the Start-Stop switch (ST).

5.The display will show “Usb LOAd”. Use the Arrow keys to select "LOAd SoFt" and press the ENTER key. The display will show "SEt UP".

For PCMCIA sRAM cards, the display will show "SEt UP" when unit turns on.

6.Press the ENTER key on the keypad.

7.The display will show the message “ruN ConFG”.

8.Use the Arrow keys to display “SEt tIM” and then press ENTER.

9.The display will show the date in YYYY MM-DD format. The day value will be blinking.

10.The date values are modified from right to left. Use the Arrow keys to increase or decrease the values. Press the ENTER key to confirm the value for the current field and move to the next value. Press the CODE SELECT key to modify the previous value.

11.After pressing ENTER to confirm the year value, the time will be displayed in HH MM format with the hours being in a 24 hour format. The minutes will be blinking.

12.The time values are modified from right to left. Use the Arrow keys to change the values. Press the ENTER key to confirm the value for the current field and move to the next value. Press the CODE SELECT key to modify the previous value.

13.After pressing ENTER to confirm the hour value, the display will return to “SEt tIM”.

14.Turn unit power off (“0”) at the Start-Stop switch (ST).

15.Remove the programming device from the controller.

16.Turn unit power on (“I”) at the Start-Stop switch (ST).

7.28.5Setting the Container ID

The characters will be preset to the container ID already on the controller. If none exist, the default will be AAAA0000000.

1.Turn unit power off (“0”) at the Start-Stop switch (ST).

2.Inspect the pins on the controller’s programming slot for damage.

3.Insert the programming device (with proper software loaded) into the slot. See Figure 7.19.

4.Turn unit power on (“I”) at the Start-Stop switch (ST).

5.The display will show “Usb LOAd”. Use the Arrow keys to select "LOAd SoFt" and press the ENTER key. The display will show "SEt UP".

For PCMCIA sRAM cards, the display will show "SEt UP".

6.Press the ENTER key on the keypad.

7.The display will show the message “ruN ConFG”

8.Use the Arrow keys to display “SEt Id” and then press ENTER.

9.The display will show the first letter of the container ID.

10.Use the Arrow keys to change the values. Press ENTER to confirm a value for the current field and move to the next value. Press the CODE SELECT key to modify a previous value.

11.When the last value is entered, press ENTER to enter the information to the controller. The display will return to “SEt Id”.

12.Turn unit power off (“0”) at the Start-Stop switch (ST).

13.Remove the programming device from the controller.

14.Turn unit power on (“I”) at the Start-Stop switch

15.To confirm that the correct container ID was loaded, use the keypad to bring up function code Cd40.

7.29Temperature Sensor Service

Service procedures for the return recorder (RRS), return temperature (RTS), supply recorder (SRS), supply temperature (STS), ambient temperature (AMBS), defrost temperature (DTS), evaporator temperature (ETS), and compressor discharge temperature (CPDS) sensors are provided here.

7.29.1Ice Bath Preparation

The ice-water bath is a method for testing the accuracy of sensors by submerging the sensors in an insulated container with ice cubes or chipped ice, then filling voids between ice with water and agitating until mixture reaches 0°C (32°F) measured on a laboratory thermometer.

Notes:

Wherever possible, use a thermometer that is regularly calibrated by an accredited test lab. Contact your instrument representative if the reference thermometer is not showing correct readings.

Always use a temperature measurement reference instrument which is of higher accuracy than the device checked – for e.g., a thermometer with a rated accuracy of +/- 0.2 °C should be used to check a device with a rated accuracy +/- 0.3 °C.

A thermally insulated container, tub open to atmosphere and large enough to contain crushed ice and water should be used. The tub should be large enough to contain the unit’s sensor and the reference thermometer.

Enough distilled water should be available to make ice cubes and to set up a proper and stable ice-water tri­ple-point mixture. Prepare ice using distilled water.

Pre-cool distilled water for testing.

Procedure:

1.Prepare a mixture of clean ice using distilled water in a clean insulated container. If possible, the person handling should be wearing latex gloves.

a.Crush or chip the ice to completely fill the container. The finer the ice particles, the more accurate the mixture.

b.Add enough pre-cooled distilled water to fill the container.

c.Stir the mixture for a minimum of 2 minutes to ensure water is completely cooled and good mixing has occurred.

d.The mixture should generally contain about 85% ice with the distilled water occupying the rest of the space.

e.Add more ice as the ice melts.

2.Stir the ice water slurry mixture to maintain a temperature 0°C (32°F).

3.Constantly monitor the temperature of the ice water slurry with your reference thermometer. Ensure that the temperature of the bath has stabilized. The criterion for stability generally is to take two readings at 1 minute intervals, and the two readings should give you 0°C (32°F).

7.29.2Sensor Checkout Procedure

This procedure is performed to verify the accuracy of a temperature sensor.

1.Remove the sensor and place in a 0°C (32°F) ice-water bath. Refer to Ice Bath Preparation Procedure.

2.Start the unit and check sensor reading on the control panel. The reading should be 0°C (32°F). If the reading is correct, reinstall sensor; if it is not, continue with the next step.

3.Place the Start-Stop switch (ST) to “0” to turn the unit Off. Disconnect the power supply.

4.See Section 7.27 to remove the controller to gain access to the sensor plugs.

5.Using the plug connector marked “EC” that is connected to the back of the controller, locate the sensor wires (RRS, RTS, SRS, STS, AMBS, DTS, or CPDS as required). Follow those wires to the connector and using the pins of the plug, measure the resistance. Values are provided in Table 7–3 and Table 7–4.

Due to the variations and inaccuracies in ohmmeters, thermometers or other test equipment, a reading within 2% of the chart value would indicate a good sensor. If a sensor is defective, the resistance read­ing will usually be much higher or lower than the resistance values given.

Table 7–3  Sensor Resistance - AMBS, DTS, ETS, RRS, RTS, SRS, STS

°C

°F

OHMS

 

°C

°F

OHMS

-40

-40

336,500

 

6

42.8

24,173

-39

-38.2

314,773

 

7

44.6

23,017

-38

-36.4

294,600

 

8

46.4

21,922

-37

-34.6

275,836

 

9

48.2

20,886

-36

-32.8

258,336

 

10

50

19,900

-35

-31

242,850

 

11

51.8

18,975

-34

-29.2

228,382

 

12

53.6

18,093

-33

-27.4

214,164

 

13

55.4

17,258

-32

-25.6

200,909

 

14

57.2

16,466

-31

-23.8

188,545

 

15

59

15,715

-30

-22.0

177,000

 

16

60.8

15,002

-29

-20.2

166,360

 

17

62.6

14,325

-28

-18.4

156,426

 

18

64.4

13,683

-27

-16.6

147,148

 

19

66.2

13,073

-26

-14.8

138,478

 

20

68

12,494

-25

-13

130,374

 

21

69.8

11,944

-24

-11.2

122,794

 

22

71.6

11,420

-23

-9.4

115,702

 

23

73.4

10,923

-22

-7.6

109,063

 

24

75.2

10,450

-21

-5.8

102,846

 

25

77

10,000

-20

-4

97,022

 

26

78.8

9,572

-19

-2.2

91,563

 

27

80.6

9,164

-18

-0.4

86,445

 

28

82.4

8,777

-17

1.4

81,644

 

29

84.2

8,407

-16

3.2

77,139

 

30

86

8,055

-15

5

72,910

 

31

87.8

7,720

-14

6.8

68,938

 

32

89.6

7,401

-13

8.6

65,206

 

33

91.4

7,096

-12

10.4

61,699

 

34

93.2

6,806

-11

12.2

58,401

 

35

95

6,529

-10

14

55,330

 

36

96.8

6,265

-9

15.8

52,381

 

37

98.6

6,013

-8

17.6

49,634

 

38

100.4

5,772

-7

19.4

47,047

 

39

102.2

5,543

-6

21.2

44,610

 

40

104.0

5,323

-5

23

42,314

 

41

105.8

5,114

-4

24.8

40,149

 

42

107.6

4,914

-3

26.6

38,108

 

43

109.4

4,723

-2

28.4

36,182

 

44

111.2

4,540

-1

30.2

34,365

 

45

113

4,365

0

32

32,650

 

46

114.8

4,198

1

33.8

31,030

 

47

116.6

4,038

2

35.6

29,500

 

48

118.4

3,885

3

37.4

28,054

 

49

120.2

3,739

4

39.2

26,688

 

50

122

3,599

5

41

25,396

 

 

 

 

Table 7–4  Sensor Resistance - PrimeLINE CPDS

°C

°F

OHMS

 

°C

°F

OHMS

-40

-40

2,889,600

 

18

64.4

117,656

-38

-36.4

2,532,872

 

20

68.0

107,439

-36

-32.8

2,225,078

 

22

71.6

98,194

-34

-29.2

1,957,446

 

24

75.2

89,916

-32

-25.6

1,724,386

 

25

77

86,113

-30

-22.0

1,522,200

 

26

78.8

82,310

-28

-18.4

1,345,074

 

28

82.4

75,473

-26

-14.8

1,190,945

 

30

83.0

69,281

-24

-11.2

1,056,140

 

32

89.6

63,648

-22

-7.6

938,045

 

34

93.2

58,531

-20

-4.0

834,716

 

36

96.8

53,887

-18

-0.4

743,581

 

38

100.4

49,656

-16

3.2

663,593

 

40

104.0

45,812

-14

6.8

593,030

 

42

107.6

42,294

-12

10.4

530,714

 

44

111.2

39,078

-10

14.0

475,743

 

46

114.8

36,145

-8

17.6

426,904

 

48

118.4

33,445

-6

21.2

383,706

 

50

122.0

30,985

-4

24.8

345,315

 

52

125.6

28,724

-2

28.4

311,165

 

54

129.2

26,651

0

32.0

280,824

 

56

132.8

27,750

2

35.6

253,682

 

58

136.4

23,005

4

39.2

229,499

 

60

140.0

21,396

6

42.8

207,870

 

62

143.6

19,909

8

46.4

188,494

 

64

147.2

18,550

10

50.0

171,165

 

66

150.8

17,294

12

53.6

155,574

 

68

154.4

16,133

14

57.2

141,590

 

70

158.0

15,067

16

60.8

129,000

 

72

161.6

14,078

7.29.3GDP Supply and Return Sensor Calibration

European Commission GDP (Good Distribution Practices) guidelines, which are used worldwide, call for the equipment used to control or monitor environments where medicinal products are stored or transported be calibrated in accordance with pharmaceutical shipper specifications, typically every six months or annually.

This procedure explains how to perform a GDP calibration of the supply (STS/SRS) and return (RTS/RRS) sensors using DataLINE software version 3.1 or higher. The calibration procedure should be conducted in pairs (STS/SRS, or RTS/RRS) and it is recommended to calibrate before the full pre-trip inspection.

Before removing the Supply or Return air sensors from the unit, turn the ON/OFF switch and circuit breaker to the OFF position. Disconnect the power plug from the unit. Follow proper lockout/tagout procedures to ensure the power cannot inadvertently be energized. It is important that all dismantling work is done and tools and personnel are away from the unit before powering on the unit for calibration.

When performing the Return Air Sensor calibration, disconnect both evaporator motors.

Before proceeding with the calibration procedure, ensure that controller software version is 5368 or higher and DataLINE version 3.1 or higher is installed onto the download device. Only the latest DataLINE and controller software will allow users to carry out Good Distribution Practice (GDP) calibration. Do not downgrade the software after installing the latest software.

Before proceeding with the calibration procedure, it is recommended to check the sensors by running pre-trip P5-0. This test checks the sensor values. If the test fails, identify and correct the faulty sensor and rerun the test.

Tools Required:

Socket screwdrivers set

Phillips screwdriver

Standard hand tools

Interrogator cable

Laptop with DataLINE 3.1 or above installed

Clean insulated container for distilled water and ice

A regularly calibrated reference thermometer, recommended to be of accuracy up to 2 decimal places.

GDP Calibration, Removing Supply Sensors (STS/SRS) from Unit:

1.Locate the supply sensors cover assembly on the suction side of the compressor. Remove the two fasteners securing the cover of the sensors (see Figure 7.20).

2.Remove the cover and rotate the supply air sensors, STS/SRS, in a clockwise direction and remove the sensors from the sensor housing (see Figure 7.20).

Figure 7.20  Supply Sensors - Cover Assembly and Sensors

7_Service00111.jpg 

GDP Calibration, Removing Return Sensors (RTS/RRS) from Unit:

1.Remove both front access panels from the unit by removing 8 fasteners from each panel (see Figure 7.21). Save all hardware for re-installation.

Figure 7.21  Removing Front Access Panels

front-access-panels.jpg 

2.On the right side, disconnect the fan motor wiring, loosen the fastener and remove (slide) the evaporator motor from the unit (see Figure 7.22).

Figure 7.22  Removing Evaporator Motor

evap-motors-remove.jpg 

3.Loosen the fastener on the sensor bracket (see Figure 7.23).

Figure 7.23  Return Sensors - Bracket

sensor-bracket.jpg 

4.Cut all the wire ties (see Figure 7.24) that are securing the sensors to the harness and remove sensor.

Figure 7.24  Return Sensors - Cutting Wire Ties

7_Service00114.jpg 

GDP Calibration, Perform Calibration:

1.Connect the interrogator cable to the interrogator port. Then, power on the unit.

Before powering on the unit, it is important to ensure that all dismantling work is done and tools are away and service personnel are not working on the unit at the time of power on.

2.Open DataLINE version 3.1 or above. From the DataLINE launch pad, click on the Probe Calibration button (see Figure 7.25) to go to the Probe Calibration screen. A pop-up window will appear reminding the user to ensure proper ice bath temperature. Click OK to acknowledge.

Figure 7.25  DataLINE - Probe Calibration

Dataline-Launch-pad.png 

3.On the Probe Calibration screen, click on the Calibrate Supply sensors or Calibrate Return sensors button (see Figure 7.26).

Figure 7.26  DataLINE - Calibrate Sensors Button

Dataline-Cal-Screen-Main.png 

4.A Location of Service pop-up window will appear (see Figure 7.27). In the appropriate fields, enter the Service Center Name and Service Center Location where the calibration is being performed. Then, click the Save button. A pop-up window will appear reminding the user to ensure proper ice bath temperature. Click OK to acknowledge and remember to maintain the Ice bath at 0°C (32°F).

Figure 7.27  DataLINE - Enter Service Center Information

Dataline-Cal-Screen-loc-service.png 

5.Prepare the ice bath. Refer to the Ice Bath Preparation procedure.

Ensure that the set-up (i.e. ice bath, sensors, reference thermometer) has reached a stable state before beginning the calibration process. Ensure that the set-up is clean and the reference thermometer is reg­ularly maintained and calibrated.

6.Place the ice bath in a location near sensors (see Figure 7.28). For Return Sensors, place the ice bath on an elevated platform (ladder) of appropriate height.

Figure 7.28  Ice Bath

7_Service00117.jpg 

7.Once temperature stability is ensured, submerge the sensors in the ice water slurry. Make certain that the sensors do not contact the container sides or bottom, or each other. Continuously stir the slurry mixture during calibration.

8.Ensure that the Ice bath is at 0°C (32°F) using the calibrated reference thermometer. Confirm that the sensor readings have stabilized and the sensors are within +/- 0.3°C (0.5°F). The readings can be taken from the Uncal column in the Current Probe Offset Temperatures table.

9.Then, after confirming the sensor readings have stabilized, click on the Start Cal button (see Figure 7.29). After clicking Start Cal, the process begins automatically and will complete in less than 5 minutes. Continue to stir the ice bath during testing. Calibration will fail if the stability cannot be achieved or the sensor offset is greater than 0.3°C (0.5°F).

Figure 7.29  DataLINE - Start Cal Button

Dataline-Cal-Screen-Start-Cal.png 

10.Once the calibration has completed, a pop-up will appear with the message Calibrate Complete. Click OK to acknowledge and the results will then be displayed on the screen in the Results column (see Figure 7.30).

Calibration will fail if the stability cannot be achieved or the sensor offset is greater than 0.3°C (0.5°F). The validity of a sensor can be checked by hand warming the sensors to see if there are changes in the readings on the DataLINE screen. If calibration will not complete, replace and recalibrate the sensors. Refer to the Sensor Replacement procedure.

Figure 7.30  DataLINE - Calibration Results

Dataline-Cal-Screen-Results.png 

11.After completing the calibration event, download a DCX file and check that all of the following information is captured: service center name, location, the results of the calibration and the offset applied. Ensure that all the information is captured and the event is considered a success when all the intended sensors in calibration have passed.

If there is “uncal” in the download, it means that the calibration process was not completed.

12.After the completion of the calibration, restore the unit to its original state.

7.29.4Sensor Replacement

Always turn OFF the unit circuit breaker (CB-1) and disconnect main power supply before removing electrical parts.

1.Place the Start-Stop switch (ST) to “0” to turn the unit Off. Disconnect the power supply.

Include white date code label when cutting out and removing defective sensors. The label could be required for warranty returns.

2.Cut the cable. Slide the cap and grommet off the bulb type sensor and save for reuse. Do not cut the grommet.

3.Cut one wire of existing cable 40 mm (1-1/2 inches) shorter than the other wire.

4.Cut the replacement sensor wires (opposite colors) back 40 mm (1-1/2 inches). See Figure 7.31.

Figure 7.31  Sensor Types

7_Service00118.jpg 

5.Strip back insulation on all wiring 6.3 mm (1/4 inch).

6.Slide a large piece of heat shrink tubing over the cable, and place the two small pieces of heat shrink tubing, one over each wire, before adding crimp fittings as shown in Figure 7.32.

Figure 7.32  Sensor and Cable Splice

T-362_111c.jpg 

1)Sensor (typical)

2)Heat Shrink Tubing (2 or 3 as required)

3)Cable

4)Large Heat Shrink Tubing (1)

- - - - -

7.If required, slide the cap and grommet assembly onto the replacement sensor.

8.Slip crimp fittings over dressed wires (keeping wire colors together). Make sure wires are pushed into crimp fittings as far as possible and crimp with crimping tool.

9.Solder spliced wires with a 60% tin and 40% lead Rosincore solder.

10.Slide heat shrink tubing over each splice so that ends of tubing cover both ends of crimp as shown in Figure 7.32.

11.Heat tubing to shrink over splice. Make sure all seams are sealed tightly against the wiring to prevent moisture seepage.

Do not allow moisture to enter wire splice area as this may affect sensor resistance.

12.Slide large heat shrink tubing over both splices and shrink.

13.Position sensor in unit as shown in Figure 7.32 and re-check sensor resistance. See following sections:

See Figure 7.33 for Supply Sensor Positioning

See Figure 7.34 for Return Sensor Positioning

See Figure 7.35 for ETS Sensor Positioning

14.Reinstall sensor. See following sections:

See Section 7.29.5 for STS and SRS Reinstallation

See Section 7.29.6 for RRS and RTS Reinstallation

See Section 7.29.7 for DTS Reinstallation

See Section 7.29.8 for ETS1 and ETS2 Reinstallation

The P5 Pre-Trip test must be run to deactivate probe alarms (see Section 5.8).

7.29.5Supply Sensor (STS/SRS) Reinstallation

To properly reinstall a unit Supply Temperature Sensor (STS) or Supply Recorder Sensor (SRS), the sensor must be fully inserted into the probe holder. This positioning will give the sensor the optimum amount of exposure to the supply air stream, and will allow the controller to operate correctly. Insufficient probe insertion into the probe holder will result in poor temperature control due to the lack of air flow over the sensor.

It is also necessary to ensure that the probe tip does not contact the back panel. The design minimum clearance of 6 mm (1/4 inch) should be maintained (see Figure 7.33).

Figure 7.33  STS/SRS Positioning

T-362_112a.jpg 

1)Sensor Wire

2)Cap & Grommet Assembly

3)Probe Holder

4)Evaporator Back Panel

5)Supply Sensor

- - - - -

7.29.6Return Sensor (RRS/RTS) Reinstallation

To properly reinstall a Return Temperature Sensor (RTS) or Return Recorder Sensor (RRS), be sure to position the enlarged positioning section of the sensor against the side of the mounting clamp (see Figure 7.34).

Figure 7.34  RRS/RTS Positioning

fig160_mv.jpg 

1)Mounting Clamp

2)Return Sensor

- - - - -

7.29.7Defrost Temperature Sensor (DTS) Reinstallation

To properly reinstall a Defrost Temperature Sensor (DTS), insulating material must be placed completely over the sensor to ensure the coil metal temperature is sensed.

7.29.8Evaporator Temperature Sensor (ETS1/ETS2) Reinstallation

The Evaporator Temperature Sensors (ETS1/ETS2) are located in a tube holder under insulation (see Figure 7.35). To properly reinstall this combo sensor, it must be placed in a tube holder by applying thermal grease. Insulating material must completely cover the sensor to ensure the correct temperature is sensed.

Figure 7.35  ETS1/ETS2 Positioning

T-362_112c.jpg 

1)Insulation

2)Wire Tie

3)ETS Tube Holder

4)ETS1 and ETS2

- - - - -

7.29.9Compressor Discharge Temperature Sensor (CPDS) Reinstallation

1.Ensure the unit is disconnected from the power source.

2.Verify that the Start-Stop switch (ST) is in the “0” position.

3.Remove the existing sensor.

4.Clean all silicone sealer and dielectric compound from the sensor well. Make sure that the well is clean and dry. The top of the compressor, where the sensor seals, must also be clean and dry (see Figure 7.36).

Figure 7.36  Compressor Discharge Temperature Sensor

T-362_113.jpg 

1)Sensor

2)Silicon Bead

3)Sensor Well

- - - - -

5.Using the syringe supplied with the replacement sensor, squeeze all of the dielectric compound into the sensor well.

6.Place a bead of the silicone sealer supplied with the replacement sensor around the sensor sealing ring. Insert sensor into the well with the leads parallel to the suction fitting.

7.Reconnect the sensor (see Figure 7.32) and run pre-trip P5.

7.30Vent Position Sensor (VPS)

The vent position sensor (VPS) determines fresh air vent position in near real-time via function code Cd45.

The fresh air vent position sensor alarm (AL50) will occur if the sensor reading is not stable for four minutes or if the sensor is outside of its valid range (shorted or open). This can occur if the vent is loose or the panel is defective. To confirm a defective panel, assure that the wing nut is secure and then power cycle the unit. If the alarm immediately reappears as active, the panel should be replaced.

The alarm should immediately go inactive. Check the four minute stability requirement. If the alarm reoccurs after the four minutes and the panel was known to have been stable, then the sensor should be replaced.

Upper VPS:

In order to replace the Upper VPS, the panel must be removed and replaced with another upper fresh air panel equipped with VPS. Upon installation, a new VPS assembly requires calibration.

1.Rotate the vent to the 0 CMH / CFM position.Cd45 will automatically display.

2.Press and hold the ENTER key for five seconds.

3.After the ENTER key has been pressed the display will read “CAL” (for calibration).

4.Press and hold the ALT MODE key for five seconds.

5.After the calibration has been completed, Cd45 will display 0 CMH / CFM.

7.31XtendFRESH Service

Procedures and technical information related to the XtendFRESH™ controlled atmosphere system can be found in the T-366 XtendFRESH Manual, located in the Literature section of the Container Refrigeration website. To find the manual from the Literature section, click on Options > XtendFRESH.

7.32Maintenance of Painted Surfaces

The refrigeration unit is protected by a special paint system against the corrosive atmosphere in which it normally operates. However, should the paint system be damaged, the base metal can corrode. In order to protect the refrigeration unit from the highly corrosive sea atmosphere, or if the protective paint system is scratched or damaged, clean the area to bare metal using a wire brush, emery paper or equivalent cleaning method. Immediately following cleaning, apply paint to the area, and allow to dry. See the Parts List for proper paint selection.

7.33Communications Interface Module Installation

Figure 7.37  Communications Interface Installation

T-362_117.jpg 

1)Circuit Breaker 460V (CB1)

2)Communications Interface Module

- - - - -

Units that have been factory provisioned for installation of a Communication Interface Module (CIM) have the required wiring installed. If the unit is not factory provisioned, a provision wiring kit (Carrier Transicold part number 76-00685-00) must be installed. Installation instructions are packaged with the kit.

7.33.1Installing the Module

Installation requires wiring to the main unit circuit breaker, CB1. Make sure the power to the unit is off and power plug disconnected before beginning installation.

1.CB1 is connected to the power system, see wiring schematic.

2.Open control box, (see Figure 7.37) and remove low voltage shield.

3.Open high voltage shield.

4.If using factory provisioned wiring, remove the circuit breaker panel, with circuit breaker, from the control box. Locate, wires CB21/CIA3, CB22/CIA5 and CB23/CIA7 that have been tied back in the wire harness. Remove the protective heat shrink from the ends of the wires.

5.Refit the circuit breaker panel.

6.Fit the new CIM into the unit.

7.Attach three wires CB21/CIA3, CB22/CIA5 and CB23/CIA7 to the CIM at connection CIA.

8.Locate connectors CIA and CIB, remove plugs if required, and attach to the module.

9.Replace the low voltage shield.

Table 7–5  R-134a Refrigerant Pressure Temperature Chart
Note: Underline figures are inches of mercury vacuum

°F

°C

PSIG

 

°C

°F

BAR

-40

-40.0

14.8

 

-40

-40.0

-0.49

-38

-38.9

13.9

 

-39

-38.2

-0.46

-36

-37.8

13.0

 

-38

-36.4

-0.43

-34

-36.7

12.0

 

-37

-34.6

-0.40

-32

-35.6

10.9

 

-36

-32.8

-0.37

-30

-34.4

9.8

 

-35

-31.0

-0.34

-28

-33.3

8.7

 

-34

-29.2

-0.30

-26

-32.2

7.5

 

-33

-27.4

-0.27

-24

-31.1

6.3

 

-32

-25.6

-0.23

-22

-30.0

5.0

 

-31

-23.8

-0.20

-20

-28.9

3.7

 

-30

-22.0

-0.16

-18

-27.8

2.3

 

-29

-20.2

-0.12

-16

-26.7

0.8

 

-28

-18.4

-0.07

-14

-25.6

0.3

 

-27

-16.6

-0.03

-12

-24.4

1.1

 

-26

-14.8

0.02

-10

-23.3

1.9

 

-25

-13.0

0.06

-8

-22.2

2.8

 

-24

-11.2

0.11

-6

-21.1

3.6

 

-23

-9.4

0.16

-4

-20.0

4.6

 

-22

-7.6

0.22

-2

-18.9

5.5

 

-21

-5.8

0.27

0

-17.8

6.5

 

-20

-4.0

0.33

2

-16.7

7.5

 

-19

-2.2

0.39

4

-15.6

8.5

 

-18

-0.4

0.45

6

-14.4

9.6

 

-17

1.4

0.51

8

-13.3

10.8

 

-16

3.2

0.57

10

-12.2

11.9

 

-15

5.0

0.64

12

-11.1

13.1

 

-14

6.8

0.71

14

-10.0

14.4

 

-13

8.6

0.78

16

-8.9

15.7

 

-12

10.4

0.85

18

-7.8

17.0

 

-11

12.2

0.93

20

-6.7

18.4

 

-10

14.0

1.01

22

-5.6

19.9

 

-9

15.8

1.09

24

-4.4

21.3

 

-8

17.6

1.17

26

-3.3

22.9

 

-7

19.4

1.25

28

-2.2

24.5

 

-6

21.2

1.34

30

-1.1

26.1

 

-5

23.0

1.43

32

0.0

27.8

 

-4

24.8

1.53

34

1.1

29.5

 

-3

26.6

1.62

36

2.2

31.3

 

-2

28.4

1.72

38

3.3

33.1

 

-1

30.2

1.82

40

4.4

35.0

 

0

32.0

1.93

42

5.6

37.0

 

1

33.8

2.04

44

6.7

39.0

 

2

35.6

2.15

46

7.8

41.1

 

3

37.4

2.26

48

8.9

43.2

 

4

39.2

2.38

50

10.0

45.4

 

5

41.0

2.50

52

11.1

47.7

 

6

42.8

2.62

54

12.2

50.0

 

7

44.6

2.75

56

13.3

52.4

 

8

46.4

2.88

58

14.4

54.9

 

9

48.2

3.01

60

15.6

57.4

 

10

50.0

3.15

62

16.7

60.0

 

11

51.8

3.29

64

17.8

62.7

 

12

53.6

3.43

66

18.9

65.4

 

13

55.4

3.58

68

20.0

68.2

 

14

57.2

3.73

70

21.1

71.1

 

15

59.0

3.88

72

22.2

74.1

 

16

60.8

4.04

74

23.3

77.1

 

17

62.6

4.21

76

24.4

80.2

 

18

64.4

4.37

78

25.6

83.4

 

19

66.2

4.54

80

26.7

86.7

 

20

68.0

4.72

82

27.8

90.0

 

21

69.8

4.90

84

28.9

93.5

 

22

71.6

5.08

86

30.0

97.0

 

23

73.4

5.27

88

31.1

100.6

 

24

75.2

5.46

90

32.2

104.3

 

25

77.0

5.65

92

33.3

108.1

 

26

78.8

5.85

94

34.4

112.0

 

27

80.6

6.06

96

35.6

115.9

 

28

82.4

6.27

98

36.7

120.0

 

29

84.2

6.48

100

37.8

124.2

 

30

86.0

6.70

102

38.9

128.4

 

31

87.8

6.93

104

40.0

132.7

 

32

89.6

7.15

106

41.1

137.2

 

33

91.4

7.39

108

42.2

141.7

 

34

93.2

7.63

110

43.3

146.4

 

35

95.0

7.87

112

44.4

151.1

 

36

96.8

8.12

114

45.6

156.0

 

37

98.6

8.37

116

46.7

160.9

 

38

100.4

8.63

118

47.8

166.0

 

39

102.2

8.90

120

48.9

171.2

 

40

104.0

9.17

122

50.0

176.5

 

41

105.8

9.44

124

51.1

181.8

 

42

107.6

9.72

126

52.2

187.4

 

43

109.4

10.01

128

53.3

193.0

 

44

111.2

10.30

130

54.4

198.7

 

45

113.0

10.60

132

55.6

204.6

 

46

114.8

10.90

134

56.7

210.6

 

47

116.6

11.21

136

57.8

216.7

 

48

118.4

11.53

138

58.9

222.9

 

49

120.2

11.85

140

60.0

229.2

 

50

122.0

12.18

142

61.1

235.7

 

51

123.8

12.51

144

62.2

242.3

 

52

125.6

12.85

146

63.3

249.0

 

53

127.4

13.20

148

64.4

255.9

 

54

129.2

13.56

150

65.6

262.9

 

55

131.0

13.92

 

 

 

 

56

132.8

14.28

 

 

 

 

57

134.6

14.66

 

 

 

 

58

136.4

15.04

 

 

 

 

59

138.2

15.42

 

 

 

 

60

140.0

15.82

 

 

 

 

61

141.8

16.22

 

 

 

 

62

143.6

16.63

 

 

 

 

63

145.4

17.04

 

 

 

 

64

147.2

17.47

 

 

 

 

65

149.0

17.90

 

Table 7–6  R-513A Refrigerant Pressure Temperature Chart
Note: Underline figures are inches of mercury vacuum

°F

°C

PSIG

 

°C

°F

BAR

-40

-40.0

9.8

 

-40

-40.0

-0.32

-38

-38.9

8.6

 

-39

-38.2

-0.28

-36

-37.8

7.4

 

-38

-36.4

-0.25

-34

-36.7

6.2

 

-37

-34.6

-0.21

-32

-35.6

4.9

 

-36

-32.8

-0.17

-30

-34.4

3.6

 

-35

-31.0

-0.13

-28

-33.3

2.2

 

-34

-29.2

-0.09

-26

-32.2

0.7

 

-33

-27.4

-0.05

-24

-31.1

0.4

 

-32

-25.6

0.00

-22

-30.0

1.1

 

-31

-23.8

0.04

-20

-28.9

1.9

 

-30

-22.0

0.09

-18

-27.8

2.8

 

-29

-20.2

0.14

-16

-26.7

3.7

 

-28

-18.4

0.19

-14

-25.6

4.6

 

-27

-16.6

0.25

-12

-24.4

5.5

 

-26

-14.8

0.30

-10

-23.3

6.5

 

-25

-13.0

0.36

-8

-22.2

7.5

 

-24

-11.2

0.42

-6

-21.1

8.5

 

-23

-9.4

0.48

-4

-20.0

9.6

 

-22

-7.6

0.54

-2

-18.9

10.7

 

-21

-5.8

0.61

0

-17.8

11.9

 

-20

-4.0

0.67

2

-16.7

13.1

 

-19

-2.2

0.74

4

-15.6

14.3

 

-18

-0.4

0.81

6

-14.4

15.6

 

-17

1.4

0.89

8

-13.3

16.9

 

-16

3.2

0.96

10

-12.2

18.3

 

-15

5.0

1.04

12

-11.1

19.7

 

-14

6.8

1.12

14

-10.0

21.1

 

-13

8.6

1.21

16

-8.9

22.6

 

-12

10.4

1.29

18

-7.8

24.2

 

-11

12.2

1.38

20

-6.7

25.8

 

-10

14.0

1.47

22

-5.6

27.5

 

-9

15.8

1.56

24

-4.4

29.2

 

-8

17.6

1.66

26

-3.3

30.9

 

-7

19.4

1.76

28

-2.2

32.7

 

-6

21.2

1.86

30

-1.1

34.6

 

-5

23.0

1.97

32

0.0

36.5

 

-4

24.8

2.07

34

1.1

38.5

 

-3

26.6

2.18

36

2.2

40.5

 

-2

28.4

2.30

38

3.3

42.6

 

-1

30.2

2.41

40

4.4

44.8

 

0

32.0

2.53

42

5.6

47.0

 

1

33.8

2.65

44

6.7

49.3

 

2

35.6

2.78

46

7.8

51.6

 

3

37.4

2.91

48

8.9

54.0

 

4

39.2

3.04

50

10.0

56.5

 

5

41.0

3.18

52

11.1

59.0

 

6

42.8

3.32

54

12.2

61.6

 

7

44.6

3.46

56

13.3

64.3

 

8

46.4

3.60

58

14.4

67.0

 

9

48.2

3.75

60

15.6

69.8

 

10

50.0

3.91

62

16.7

72.7

 

11

51.8

4.06

64

17.8

75.7

 

12

53.6

4.22

66

18.9

78.7

 

13

55.4

4.39

68

20.0

81.8

 

14

57.2

4.56

70

21.1

85.0

 

15

59.0

4.73

72

22.2

88.2

 

16

60.8

4.91

74

23.3

91.6

 

17

62.6

5.09

76

24.4

95.0

 

18

64.4

5.27

78

25.6

98.5

 

19

66.2

5.46

80

26.7

102.1

 

20

68.0

5.65

82

27.8

105.7

 

21

69.8

5.85

84

28.9

109.5

 

22

71.6

6.05

86

30.0

113.3

 

23

73.4

6.26

88

31.1

117.3

 

24

75.2

6.47

90

32.2

121.3

 

25

77.0

6.68

92

33.3

125.4

 

26

78.8

6.90

94

34.4

129.6

 

27

80.6

7.13

96

35.6

133.9

 

28

82.4

7.36

98

36.7

138.3

 

29

84.2

7.59

100

37.8

142.8

 

30

86.0

7.83

102

38.9

147.4

 

31

87.8

8.07

104

40.0

152.0

 

32

89.6

8.32

106

41.1

156.8

 

33

91.4

8.57

108

42.2

161.7

 

34

93.2

8.83

110

43.3

166.7

 

35

95.0

9.10

112

44.4

171.8

 

36

96.8

9.37

114

45.6

177.0

 

37

98.6

9.64

116

46.7

182.3

 

38

100.4

9.92

118

47.8

187.7

 

39

102.2

10.21

120

48.9

193.3

 

40

104.0

10.50

122

50.0

198.9

 

41

105.8

10.79

124

51.1

204.7

 

42

107.6

11.10

126

52.2

210.5

 

43

109.4

11.40

128

53.3

216.5

 

44

111.2

11.72

130

54.4

222.7

 

45

113.0

12.04

132

55.6

228.9

 

46

114.8

12.36

134

56.7

235.2

 

47

116.6

12.70

136

57.8

241.7

 

48

118.4

13.03

138

58.9

248.3

 

49

120.2

13.38

140

60.0

255.1

 

50

122.0

13.73

142

61.1

261.9

 

51

123.8

14.09

144

62.2

268.9

 

52

125.6

14.45

146

63.3

276.1

 

53

127.4

14.82

148

64.4

283.3

 

54

129.2

15.20

150

65.6

290.8

 

55

131.0

15.58

 

 

 

 

56

132.8

15.97

 

 

 

 

57

134.6

16.37

 

 

 

 

58

136.4

16.77

 

 

 

 

59

138.2

17.18

 

 

 

 

60

140.0

17.60

 

 

 

 

61

141.8

18.03

 

 

 

 

62

143.6

18.46

 

 

 

 

63

145.4

18.90

 

 

 

 

64

147.2

19.35

 

 

 

 

65

149.0

19.80

Table 7–7  Recommended Bolt Torque Values (Dry, Non-Lubricated for 18-8 Stainless Steel)

Bolt Diameter

Threads

In-Lb

Ft-Lb

Nm

Free Spinning

#4

40

5.2

0.4

0.6

#6

32

9.6

0.8

1.1

#8

32

20

1.7

2.3

#10

24

23

1.9

2.6

1/4

20

75

6.3

8.5

5/16

18

132

11

14.9

3/8

16

240

20

27.1

7/16

14

372

31

42

1/2

13

516

43

58.3

9/16

12

684

57

77.3

5/8

11

1104

92

124.7

3/4

10

1488

124

168.1

Non Free Spinning (Locknuts etc.)

1/4

20

82.5

6.9

9.3

5/16

18

145.2

12.1

16.4

3/8

16

264

22.0

29.8

7/16

14

409.2

34.1

46.2

1/2

13

567.6

47.3

64.1

9/16

12

752.4

62.7

85

5/8

11

1214.4

101.2

137.2

3/4

10

1636.8

136.4

184.9